潍柴动力获得实用新型专利授权:“一种单向阀式加热器甲醇喷嘴”
作者:小微
发表于:2025年04月22日
浏览量:56018

图片来源于网络,如有侵权,请联系删除
证券之星消息,根据天眼查APP数据显示潍柴动力(000338)新获得一项实用新型专利授权,专利名为“一种单向阀式加热器甲醇喷嘴”,专利申请号为CN202421442605.1,授权日为2025年4月22日。
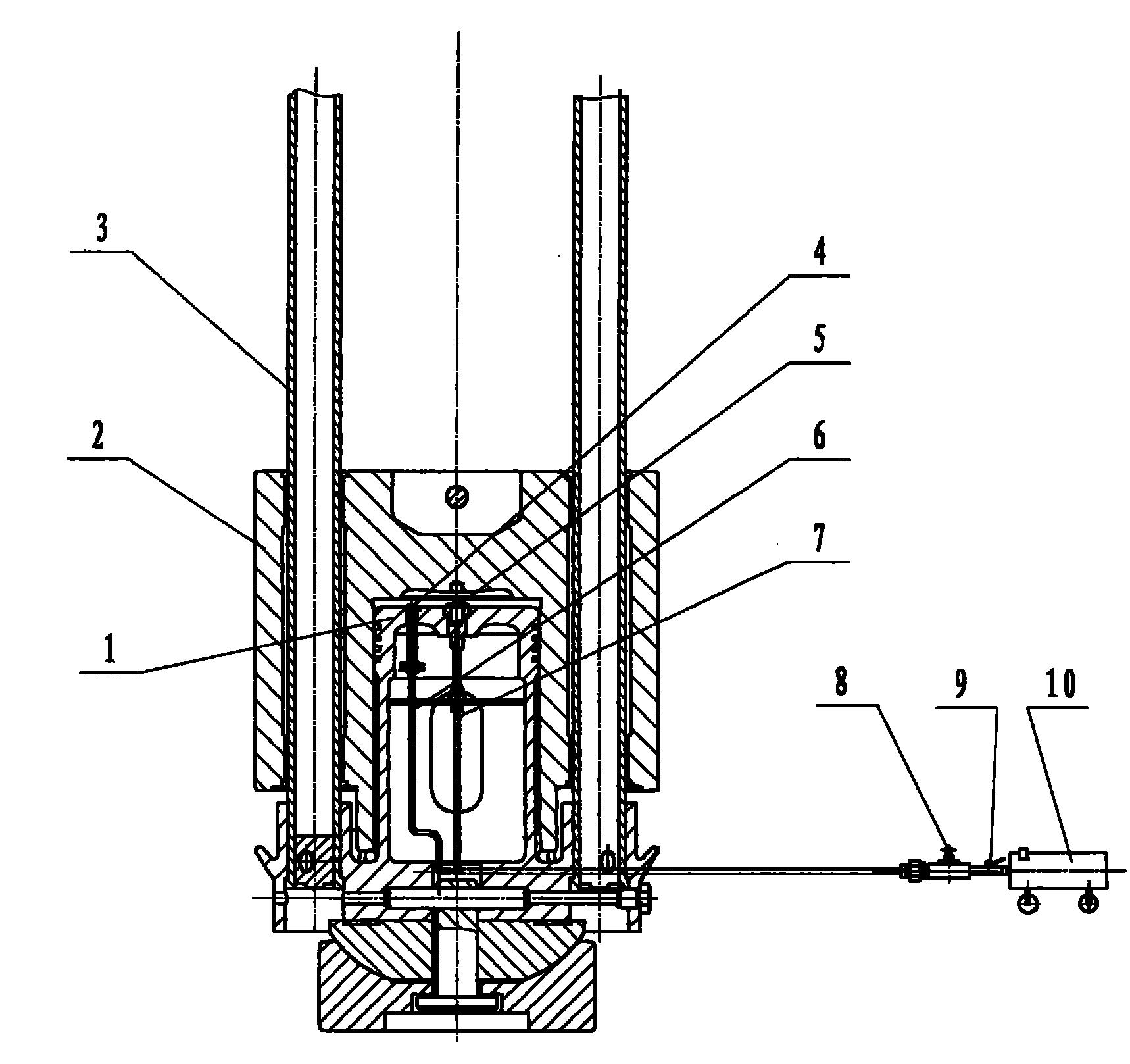
专利摘要:本实用新型公开了一种单向阀式加热器甲醇喷嘴,包括甲醇喷嘴本体,所述甲醇喷嘴本体内设置有甲醇通道,所述甲醇通道的一端连接燃料入口,另一端连接燃料喷射口;所述甲醇通道连接燃料入口的位置设置单向阀,所述单向阀靠近燃料入口的一端呈锥形,单向阀的锥形面上设置有甲醇口,单向阀的另一端与弹簧连接,弹簧的弹力带动单向阀移动,使甲醇口与燃料入口连通或关闭;本实用新型的单向阀只有在管路达到一定的压力时,单向阀打开实现喷嘴喷射,而当加热器停止工作或者初始启动状态的压力低时,单向阀在弹簧作用下处于关闭状态,保证了喷嘴前的液体燃料不被流出,实现快速建压,同时也避免了液体燃料流至附近的点火电极而导致点火故障等情况。
今年以来潍柴动力新获得专利授权320个,较去年同期减少了19.19%。结合公司2024年年报财务数据,2024年公司在研发方面投入了82.99亿元,同比增3.16%。
数据来源:天眼查APP
以上内容为证券之星据公开信息整理,由智能算法生成(网信算备310104345710301240019号),不构成投资建议。
