新 希 望获得实用新型专利授权:“一种养殖场散装料卸料装置”
作者:小微
发表于:2025年05月02日
浏览量:58920

图片来源于网络,如有侵权,请联系删除
证券之星消息,根据天眼查APP数据显示新 希 望(000876)新获得一项实用新型专利授权,专利名为“一种养殖场散装料卸料装置”,专利申请号为CN202421701207.7,授权日为2025年5月2日。
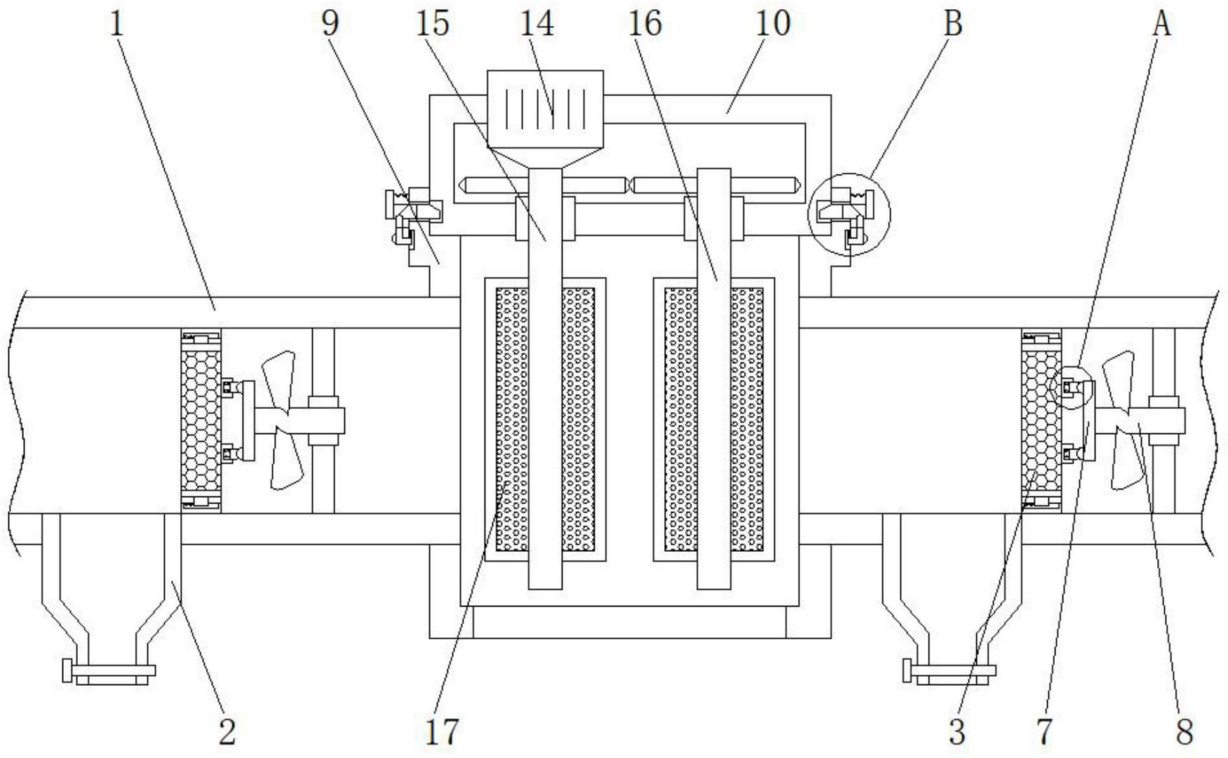
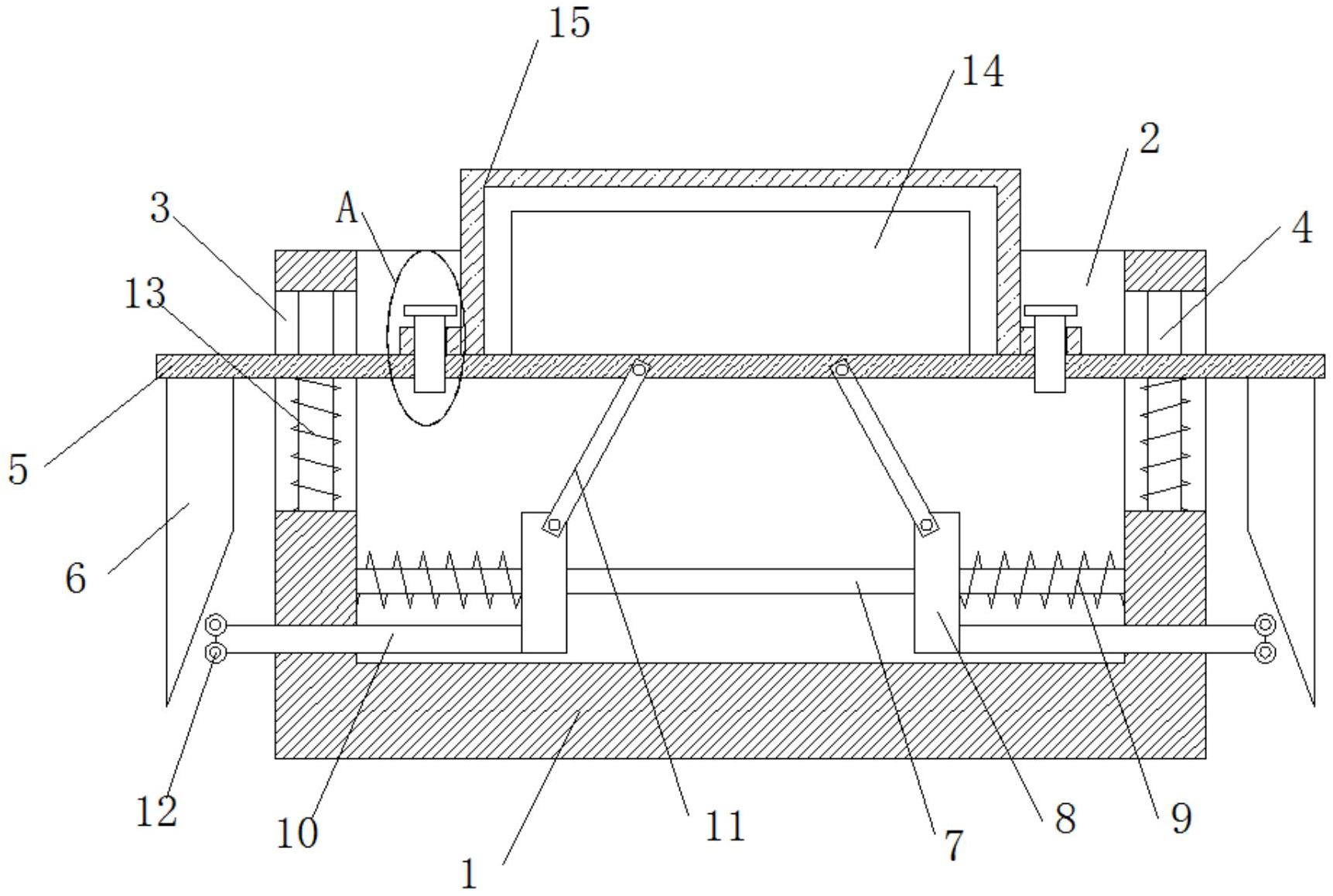
专利摘要:本实用新型提供了一种养殖场散装料卸料装置,属于养殖场辅助设备领域。其技术方案为:包括设置在储料仓料口上方的下料板,下料板上设置有拨散组件,下料板外围、厂房地面上设置有防护屋,防护屋顶部设置有封闭组件,下料板包括设置在储料仓料口外围的矩形框架,矩形框架上平行设置有若干道竖直挡料板,下料板顶面设置有向下凹陷的安装槽,安装槽中设置有拨散组件,封闭组件包括设置在防护屋顶部内侧一对卷扬机,一对卷扬机的缆绳端部设置有封闭板,封闭板与下料板位置对应设置。本实用新型的有益效果为:结构简单、安装便捷,能够有效防止散装原料卸料时四处散落,防止原料粉尘飞扬,同时能够能够对储料仓料口形成防护,防止异物落入料仓中。

图片来源于网络,如有侵权,请联系删除
今年以来新 希 望新获得专利授权17个,较去年同期减少了61.36%。结合公司2024年年报财务数据,2024年公司在研发方面投入了2.5亿元,同比增20.5%。
数据来源:天眼查APP
以上内容为证券之星据公开信息整理,由AI算法生成(网信算备310104345710301240019号),不构成投资建议。
