格力电器获得发明专利授权:“一种用于洗衣机的脱水流道组件及具有其的波轮洗衣机”
作者:小微
发表于:2025年05月07日
浏览量:69577

图片来源于网络,如有侵权,请联系删除
证券之星消息,根据天眼查APP数据显示格力电器(000651)新获得一项发明专利授权,专利名为“一种用于洗衣机的脱水流道组件及具有其的波轮洗衣机”,专利申请号为CN202110902354.5,授权日为2025年5月6日。
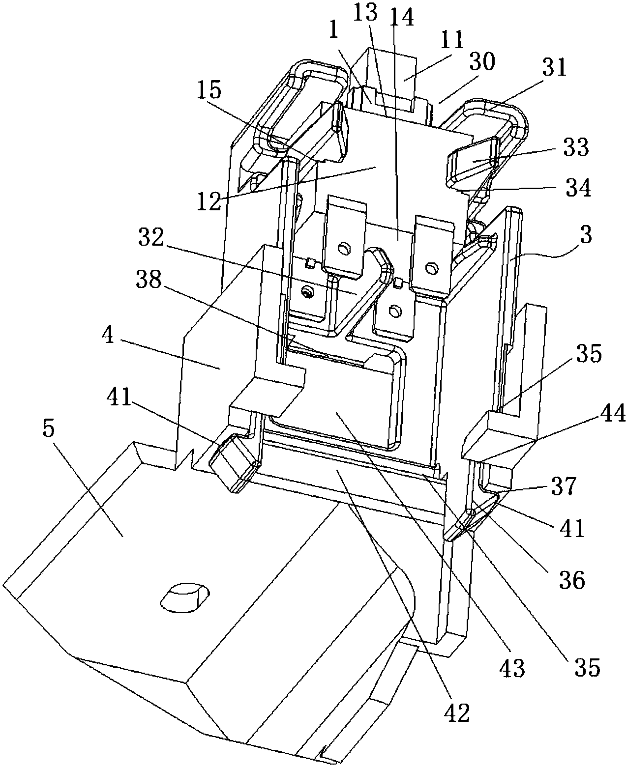
专利摘要:本发明提供一种用于洗衣机的脱水流道组件及具有其的波轮洗衣机,洗衣机包括内桶,内桶外侧壁形成有内凹结构,内凹结构与内桶内侧壁之间连通有通水孔,脱水流道嵌合在内凹结构的外侧,空间占用小;脱水流道内壁上形成有脱水流道进水口;在内桶外侧壁和脱水流道内壁之间设有密封圈,在通水孔和脱水流道进水口之间设有密封片,避免水由内桶外侧壁和脱水流道内壁之间的缝隙流出;线屑收集器底座的顶部形成有围设在通水孔处的空腔;空腔进水口、通水孔和脱水流道进水口均朝向内桶的周向方向,内桶脱水时,内桶中的水经空腔进水口和通水孔顺利进入脱水流道,并经脱水流道出水口排出,实现快速排水;空腔进水口设有挡衣网,避免衣物堵塞,脱水效率高。
今年以来格力电器新获得专利授权1982个,较去年同期减少了9.91%。结合公司2024年年报财务数据,2024年公司在研发方面投入了69.04亿元,同比增2.1%。
数据来源:天眼查APP
以上内容为证券之星据公开信息整理,由AI算法生成(网信算备310104345710301240019号),不构成投资建议。
