中铁工业获得实用新型专利授权:“一种激光扫描反馈组件及布贴装置”
作者:小微
发表于:2025年05月17日
浏览量:63472

图片来源于网络,如有侵权,请联系删除
证券之星消息,根据天眼查APP数据显示中铁工业(600528)新获得一项实用新型专利授权,专利名为“一种激光扫描反馈组件及布贴装置”,专利申请号为CN202421756089.X,授权日为2025年5月16日。
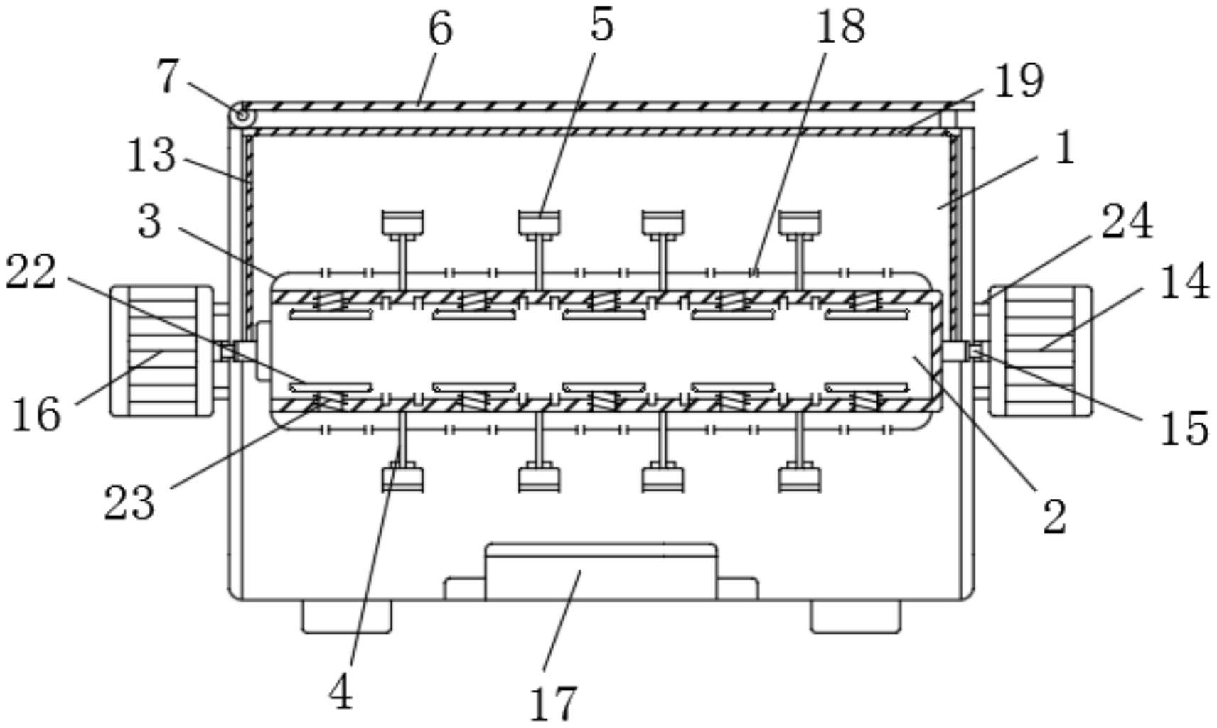
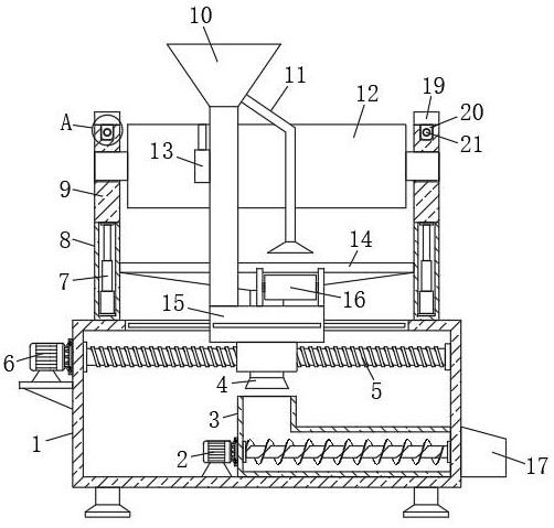
专利摘要:本实用新型公开了一种激光扫描反馈组件及布贴装置,其中,激光扫描反馈组件包括基片,所述基片其中一个端面嵌装有用于反射激光的反光片,基片另一个端面嵌装固定有端面磁铁片;激光扫描反馈组件布贴装置包括存放舱,所述存放舱中设置有用于推动激光扫描反馈组件向下移动的下推组件;存放舱下端对接有横向弹出舱,横向弹出舱的下表面开设有下料贴装口,横向弹出舱内滑动安装有横向推片,横向推片用于将最下方的激光扫描反馈组件推至下料贴装口。本实用新型的激光扫描反馈组件通过端面磁铁片可吸附在桥梁钢部件上,贴装相对更方便,且后续可以回收,进行重复利用;激光扫描反馈组件布贴装置可实现激光扫描反馈组件的自动布贴,布贴效率大大提高。

图片来源于网络,如有侵权,请联系删除
今年以来中铁工业新获得专利授权20个,较去年同期增加了25%。结合公司2024年年报财务数据,2024年公司在研发方面投入了17.89亿元,同比增7.23%。

图片来源于网络,如有侵权,请联系删除
数据来源:天眼查APP
以上内容为证券之星据公开信息整理,由AI算法生成(网信算备310104345710301240019号),不构成投资建议。
