同享科技获得发明专利授权:“一种圆形光伏焊带收卷装置及其收卷方法”
作者:小微
发表于:2025年05月17日
浏览量:79100

图片来源于网络,如有侵权,请联系删除
证券之星消息,根据天眼查APP数据显示同享科技(839167)新获得一项发明专利授权,专利名为“一种圆形光伏焊带收卷装置及其收卷方法”,专利申请号为CN202411455704.8,授权日为2025年5月16日。
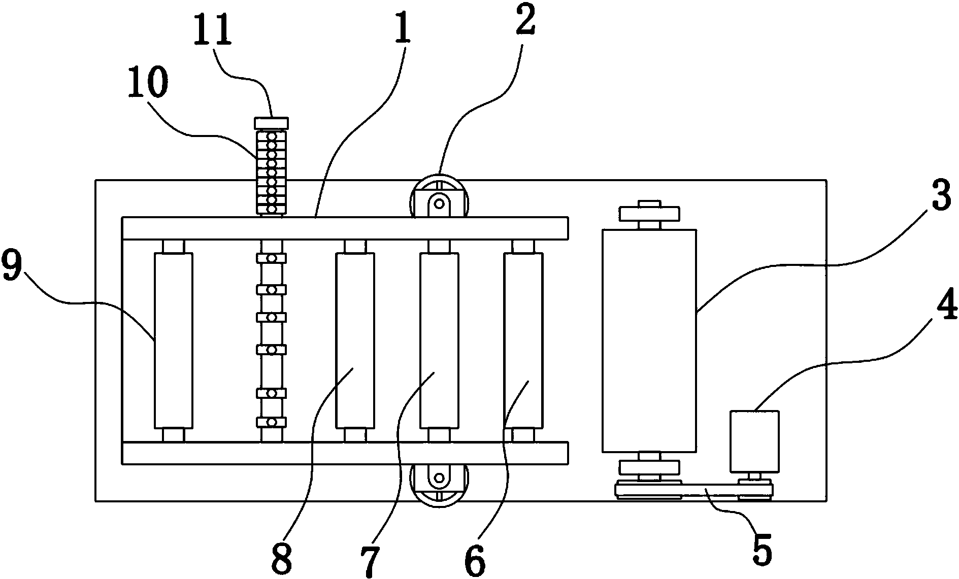
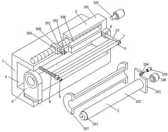
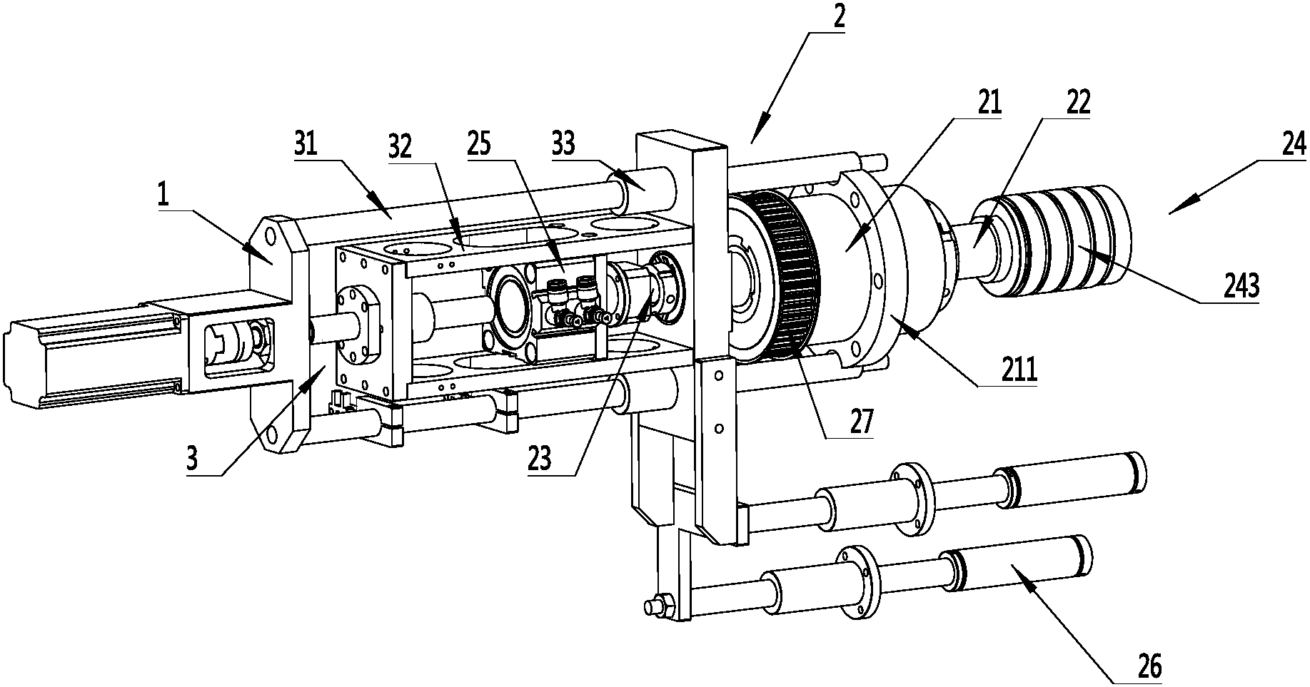
专利摘要:本发明涉及光伏焊带收卷技术领域,且公开了一种圆形光伏焊带收卷装置及其收卷方法,包括驱动机构,驱动机构上还包括底座,底座的顶部固定连接有安装板,底座的顶部开设有安装槽;当光伏焊带的张紧力过大时,对连接块进行挤压,连接块受到挤压后对连接条进行挤压,从而迫使T型滑块在T型滑槽内滑动,T型滑块在滑动时能够对伸缩弹簧进行挤压,这样可以根据光伏焊带受到的张紧力自动对连接块和滑轮的位置进行调节,这样可以始终保证光伏焊带受到的张紧力处于合适范围,从而避免光伏焊带出现被扯断的可能,当光伏焊带受到的张紧力过小时,伸缩弹簧受到的挤压力会随之释放,从而保证光伏焊带受到的张紧力处于合适的范围。

图片来源于网络,如有侵权,请联系删除
今年以来同享科技新获得专利授权9个,较去年同期增加了200%。结合公司2024年年报财务数据,2024年公司在研发方面投入了8418.76万元,同比增18.08%。

图片来源于网络,如有侵权,请联系删除
数据来源:天眼查APP
以上内容为证券之星据公开信息整理,由AI算法生成(网信算备310104345710301240019号),不构成投资建议。
