风华高科获得实用新型专利授权:“一种自动预热和冷却的层压机”
作者:小微
发表于:2025年05月21日
浏览量:66160

图片来源于网络,如有侵权,请联系删除
证券之星消息,根据天眼查APP数据显示风华高科(000636)新获得一项实用新型专利授权,专利名为“一种自动预热和冷却的层压机”,专利申请号为CN202421417725.6,授权日为2025年5月6日。
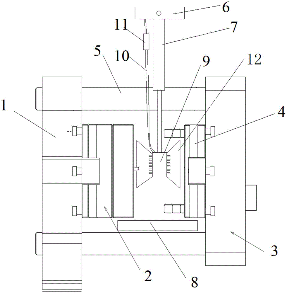
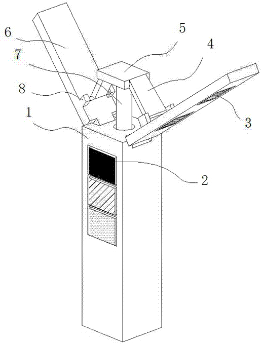
专利摘要:本实用新型提供一种自动预热和冷却的层压机,其技术方案要点是,包括传送平台及层压机构,所述传送平台的两侧分别开设有预热槽和冷却槽;所述传送平台上具有上料口和下料口;所述传送平台上设置有机械手及推送机构,所述推送机构上具有推送位;所述层压机构位于所述传送平台的一侧,且所述层压机构内具有层压腔。本实用新型可通过控制机械手和推送机构,实现自动化的抓取、上下料、预热和冷却操作,减少人工的参与,提高生产效率以及改善产品质量。

图片来源于网络,如有侵权,请联系删除
今年以来风华高科新获得专利授权14个,较去年同期减少了33.33%。结合公司2024年年报财务数据,2024年公司在研发方面投入了2.4亿元,同比增24.5%。

图片来源于网络,如有侵权,请联系删除
数据来源:天眼查APP
以上内容为证券之星据公开信息整理,由AI算法生成(网信算备310104345710301240019号),不构成投资建议。
