亚普股份获得实用新型专利授权:“一种辅助支架及设置有辅助支架的高压塑料燃油箱”
作者:小微
发表于:2025年05月23日
浏览量:71510

图片来源于网络,如有侵权,请联系删除
证券之星消息,根据天眼查APP数据显示亚普股份(603013)新获得一项实用新型专利授权,专利名为“一种辅助支架及设置有辅助支架的高压塑料燃油箱”,专利申请号为CN202421466476.X,授权日为2025年5月23日。
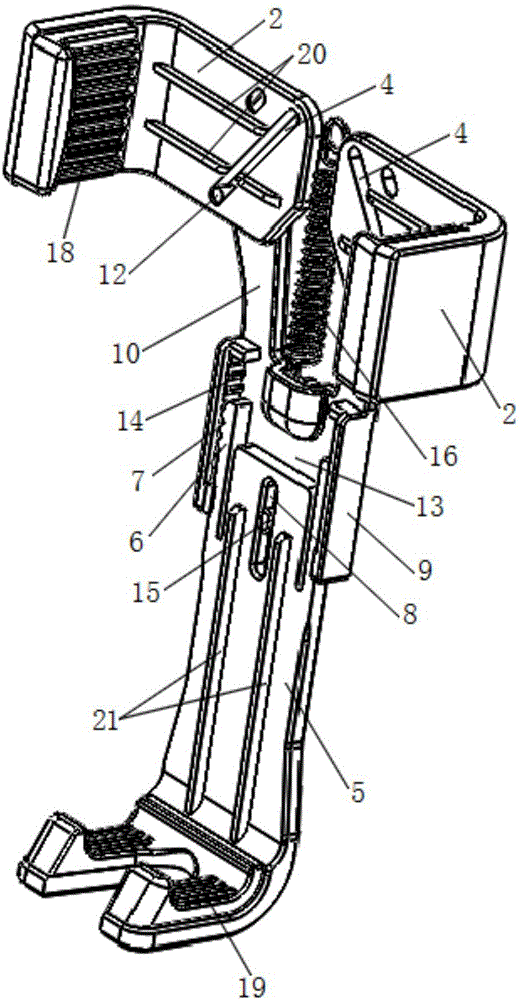
专利摘要:本发明涉及一种辅助支架及设置有辅助支架的高压塑料燃油箱,所述辅助支架包括支架本体,所述支架本体设置为中空的多面体结构,所述支架本体上设置有加强筋和固定连接件,固定连接件设置为麻点、通孔、卡槽、凹槽中的一个或者多个。该辅助支架主要用于提高油箱表面刚度,减少油箱表面变形,同时辅助支架在油箱表面还起到防浪板的作用,可以阻止燃油晃动,降低产生的噪音。

图片来源于网络,如有侵权,请联系删除
今年以来亚普股份新获得专利授权16个,较去年同期增加了23.08%。结合公司2024年年报财务数据,2024年公司在研发方面投入了3.16亿元,同比减3.49%。
数据来源:天眼查APP
以上内容为证券之星据公开信息整理,由AI算法生成(网信算备310104345710301240019号),不构成投资建议。
