科华数据获得发明专利授权:“一种连接结构及移动装置”
作者:小微
发表于:2025年05月24日
浏览量:63678

图片来源于网络,如有侵权,请联系删除
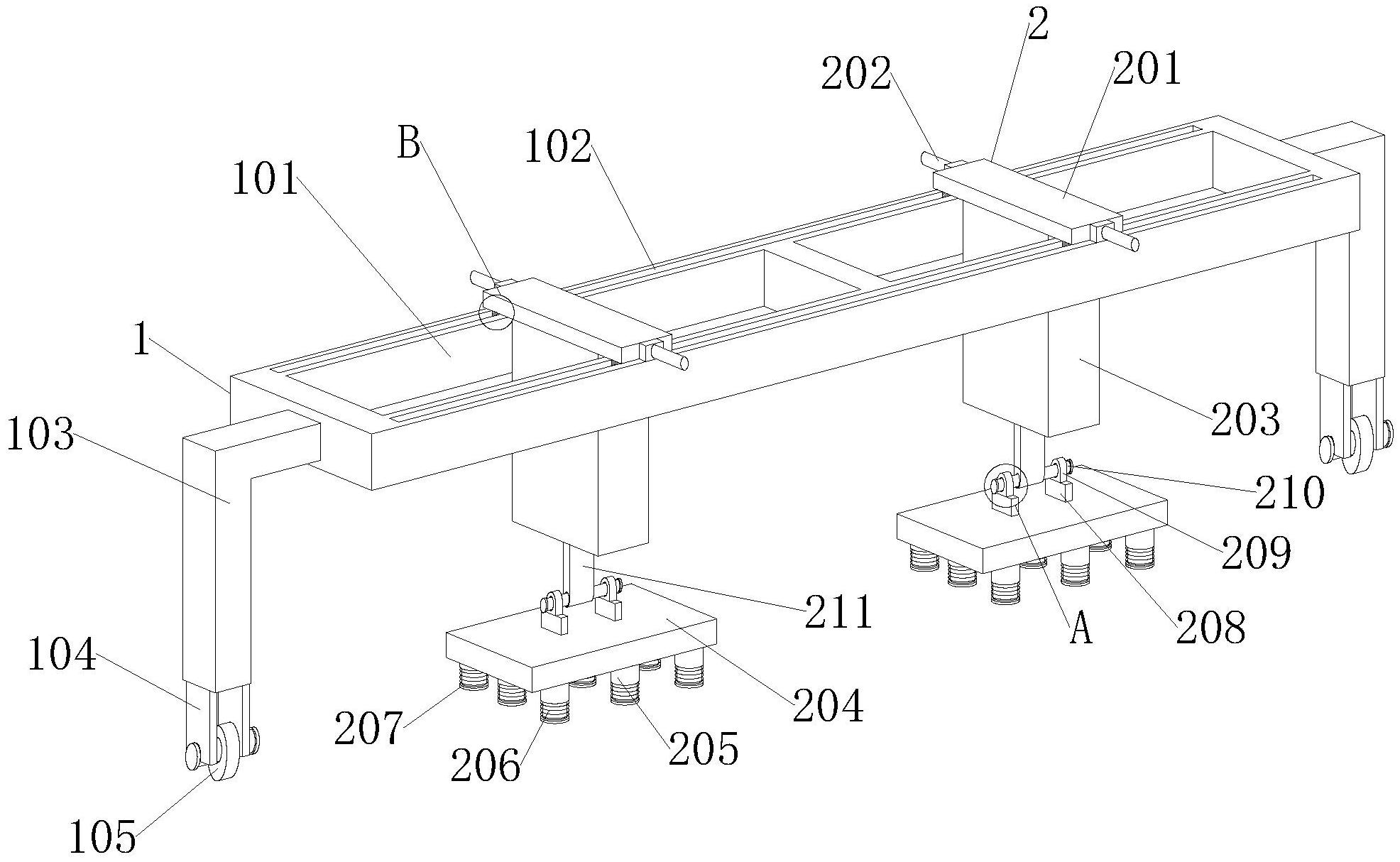
证券之星消息,根据天眼查APP数据显示科华数据(002335)新获得一项发明专利授权,专利名为“一种连接结构及移动装置”,专利申请号为CN202210905666.6,授权日为2025年5月23日。
专利摘要:本发明公开了一种连接结构及移动装置,连接结构用于将第二物体连接至第一物体外,第一物体设有连接壁,连接壁设有插接孔,连接结构包括插接件、弹性限位件和推动件,插接件设有插接部,插接部贯穿插接孔伸入第一物体内并开设有贯通孔;弹性限位件设有弹性部和限位部,弹性部被配置为在不受外力时驱动限位部停靠于第一位置,在第一位置,限位部适于抵接连接壁的内表面;推动件一端伸入插接件并设有适于与限位部形成斜面配合的推动部,推动件被操作沿第一方向运动时,推动部适于抵压限位部以使限位部缩回插接件内。移动装置包括上述的连接结构。本发明的连接结构及移动装置,其使得第一物体和第二物体的拆装便捷,可满足多种使用场景。

图片来源于网络,如有侵权,请联系删除
今年以来科华数据新获得专利授权23个,较去年同期减少了45.24%。结合公司2024年年报财务数据,2024年公司在研发方面投入了5.05亿元,同比增7.79%。

图片来源于网络,如有侵权,请联系删除
数据来源:天眼查APP
以上内容为证券之星据公开信息整理,由AI算法生成(网信算备310104345710301240019号),不构成投资建议。
