华帝股份获得外观设计专利授权:“吸油烟机(KJCX04)”
作者:小微
发表于:2025年05月27日
浏览量:78209

图片来源于网络,如有侵权,请联系删除
证券之星消息,根据天眼查APP数据显示华帝股份(002035)新获得一项外观设计专利授权,专利名为“吸油烟机(KJCX04)”,专利申请号为CN202430573216.1,授权日为2025年5月27日。
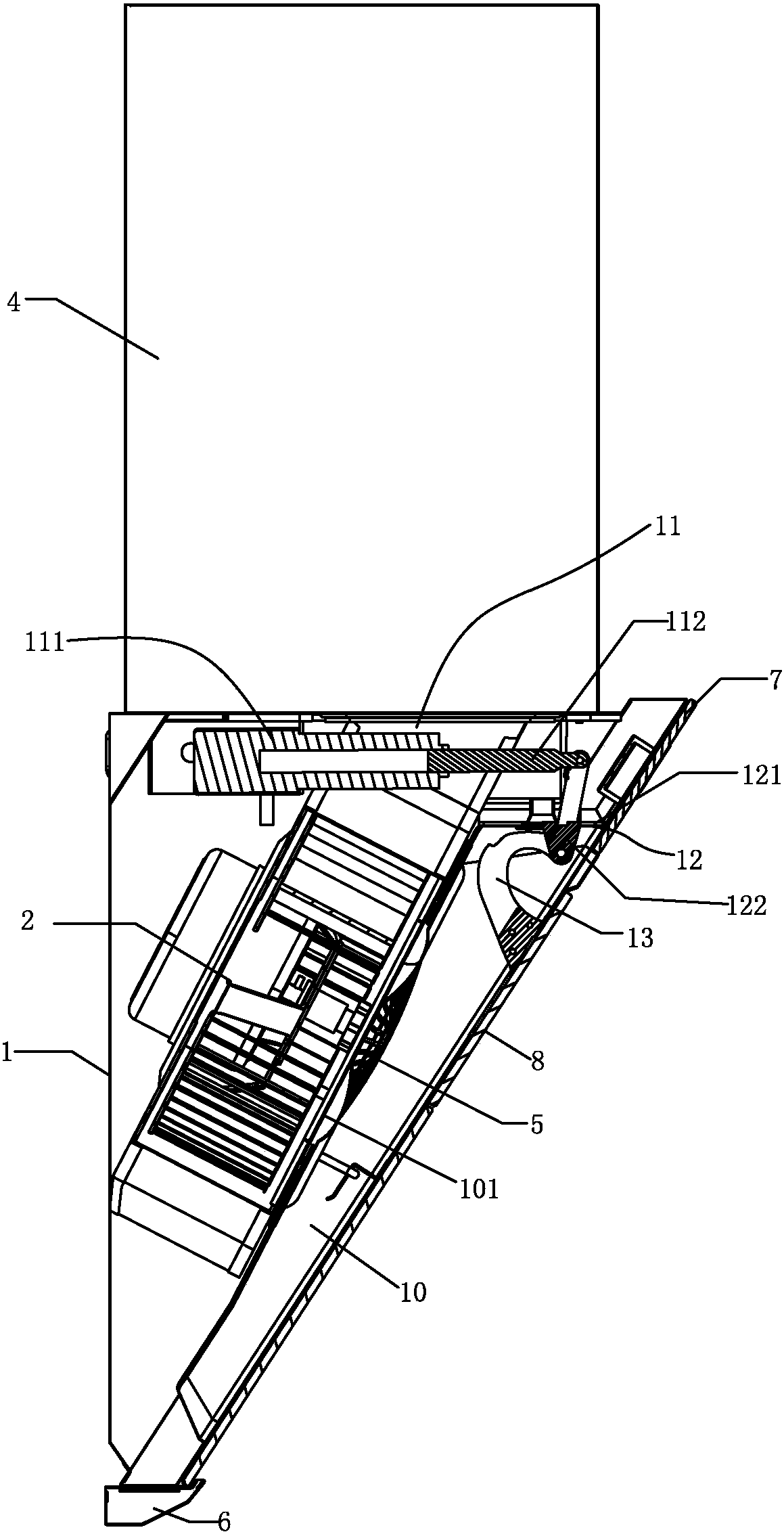
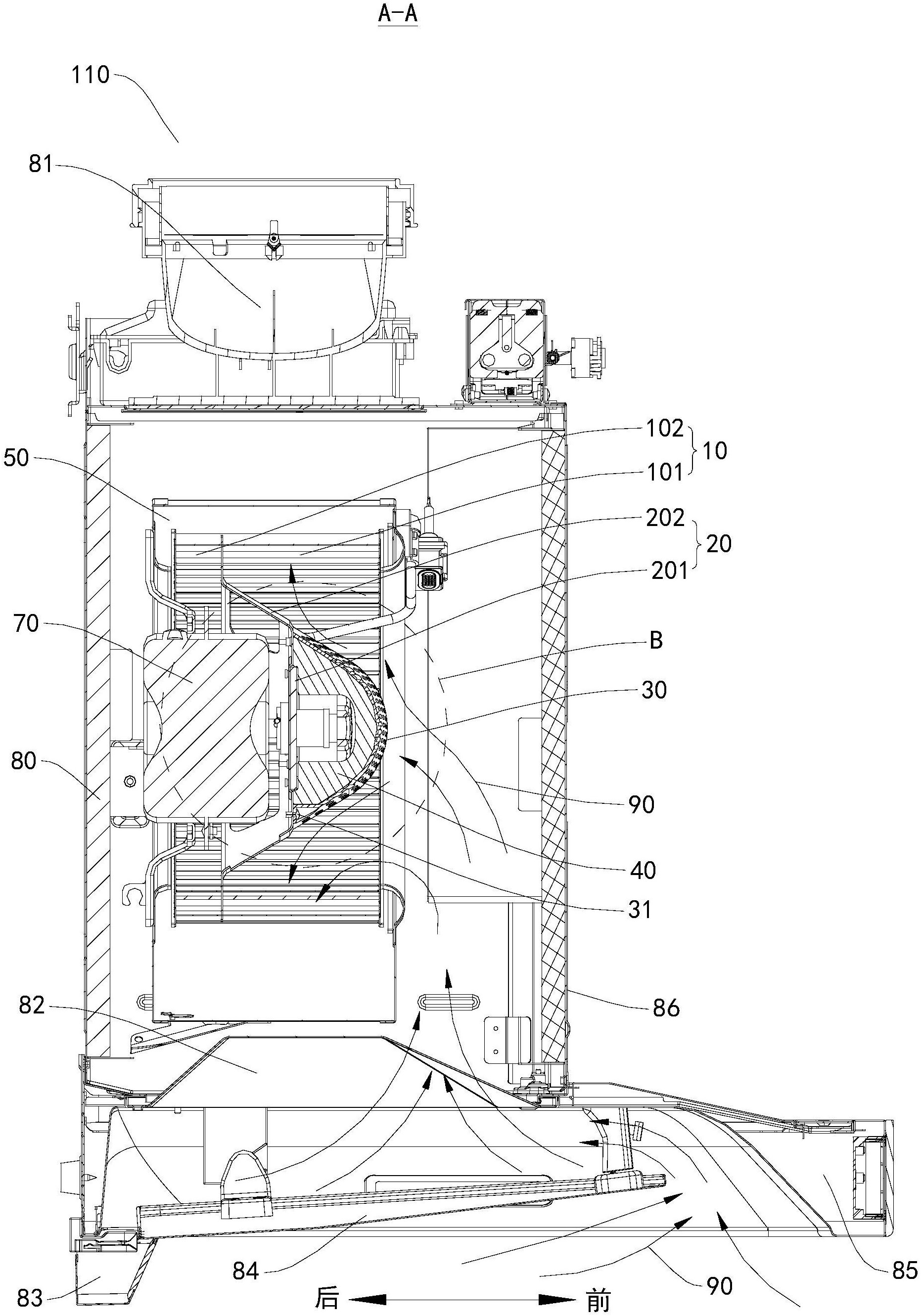
专利摘要:1.本外观设计产品的名称:吸油烟机(KJCX04)。2.本外观设计产品的用途:用于吸除厨房油烟。3.本外观设计产品的设计要点:在于形状。4.最能表明设计要点的图片或照片:设计1立体图。5.指定设计1为基本设计。

图片来源于网络,如有侵权,请联系删除
今年以来华帝股份新获得专利授权363个,较去年同期增加了17.1%。结合公司2024年年报财务数据,2024年公司在研发方面投入了2.63亿元,同比增6.14%。

图片来源于网络,如有侵权,请联系删除
数据来源:天眼查APP
以上内容为证券之星据公开信息整理,由AI算法生成(网信算备310104345710301240019号),不构成投资建议。
