赛象科技获得外观设计专利授权:“轮胎成型机”
作者:小微
发表于:2025年05月30日
浏览量:66780

图片来源于网络,如有侵权,请联系删除
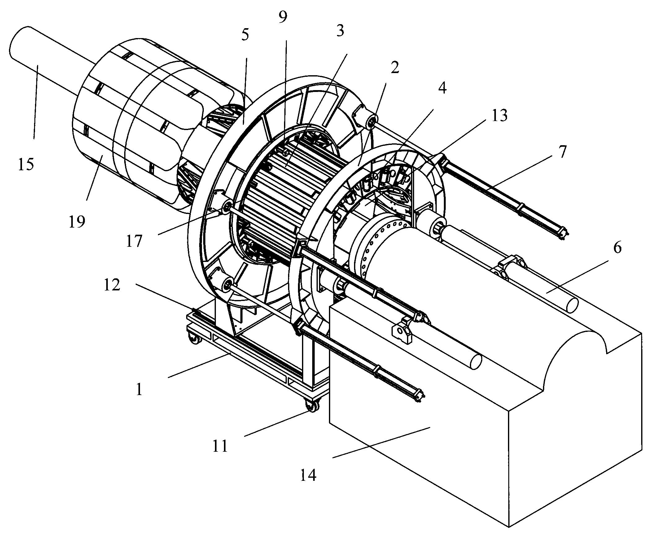
证券之星消息,根据天眼查APP数据显示赛象科技(002337)新获得一项外观设计专利授权,专利名为“轮胎成型机”,专利申请号为CN202430376358.9,授权日为2025年5月30日。
专利摘要:1.本外观设计产品的名称:轮胎成型机。2.本外观设计产品的用途:本产品用于将轮胎胶料进行贴合、复合、成型进而制作成轮胎胎胚。3.本外观设计产品的设计要点:在于形状。4.最能表明设计要点的图片或照片:立体图1。5.本外观设计产品的底面为使用时不容易看到或看不到的部位,省略仰视图。

图片来源于网络,如有侵权,请联系删除
今年以来赛象科技新获得专利授权6个,较去年同期减少了25%。结合公司2024年年报财务数据,2024年公司在研发方面投入了5983.62万元,同比减10.95%。

图片来源于网络,如有侵权,请联系删除
数据来源:天眼查APP
以上内容为证券之星据公开信息整理,由AI算法生成(网信算备310104345710301240019号),不构成投资建议。
