山东章鼓获得外观设计专利授权:“螺杆鼓风机外壳体(高压)”
作者:小微
发表于:2025年05月31日
浏览量:59800

图片来源于网络,如有侵权,请联系删除
证券之星消息,根据天眼查APP数据显示山东章鼓(002598)新获得一项外观设计专利授权,专利名为“螺杆鼓风机外壳体(高压)”,专利申请号为CN202430648662.4,授权日为2025年5月30日。
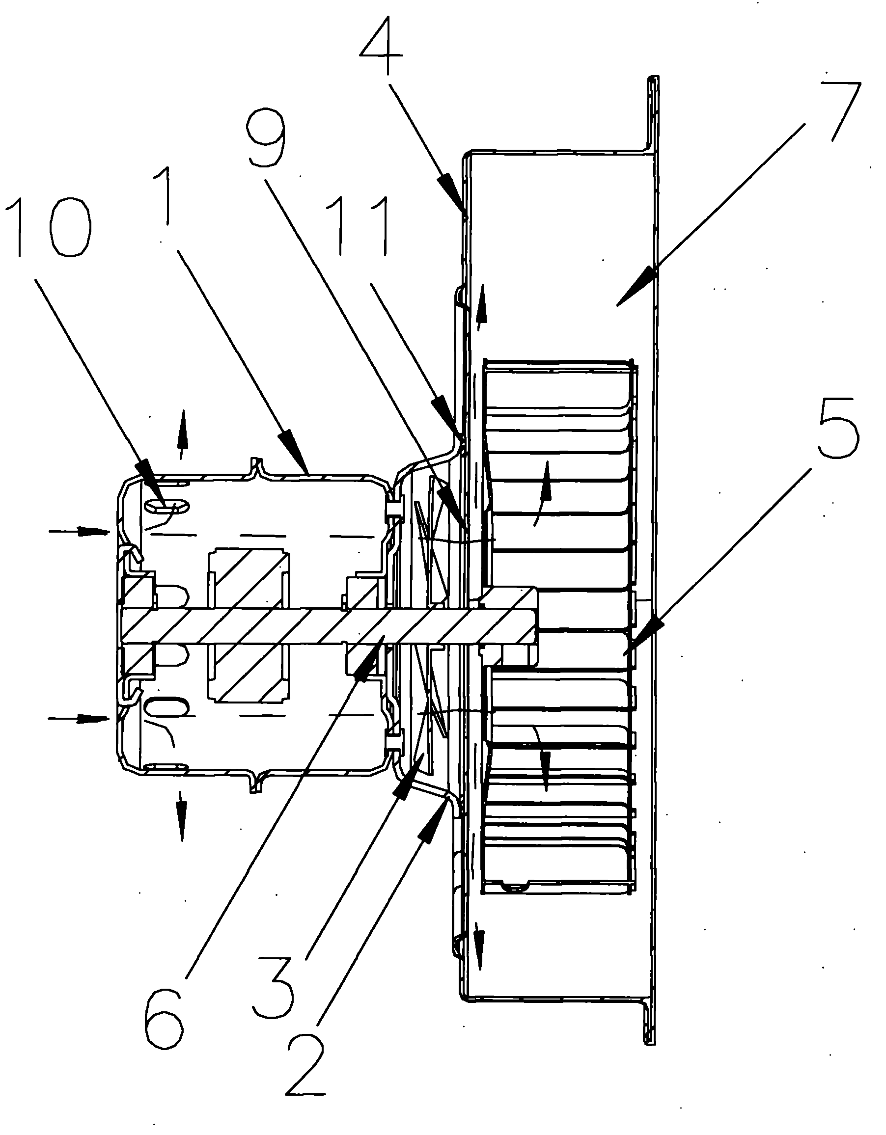
专利摘要:1.本外观设计产品的名称:螺杆鼓风机外壳体(高压)。2.本外观设计产品的用途:用于螺杆鼓风机的壳体结构,适用于排气压力>140kPa的高压场景,保护内部组件并辅助散热。3.本外观设计产品的设计要点:在于形状。4.最能表明设计要点的图片或照片:立体图1。

图片来源于网络,如有侵权,请联系删除
今年以来山东章鼓新获得专利授权24个,较去年同期减少了27.27%。结合公司2024年年报财务数据,2024年公司在研发方面投入了1.06亿元,同比增5.05%。

图片来源于网络,如有侵权,请联系删除
数据来源:天眼查APP
以上内容为证券之星据公开信息整理,由AI算法生成(网信算备310104345710301240019号),不构成投资建议。
