久立特材获得实用新型专利授权:“一种用于管道检测探头延长杆的支撑装置”
作者:小微
发表于:2025年06月04日
浏览量:61101

图片来源于网络,如有侵权,请联系删除
证券之星消息,根据天眼查APP数据显示久立特材(002318)新获得一项实用新型专利授权,专利名为“一种用于管道检测探头延长杆的支撑装置”,专利申请号为CN202421898769.5,授权日为2025年6月3日。
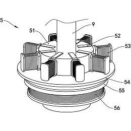
专利摘要:一种用于管道检测探头延长杆的支撑装置,包括基座和连接于基座上的支撑机构,所述基座上移动式设有用于对支撑机构进行限位的限位组件,基座上设有用于控制限位组件移动的调节机构;所述支撑机构包括用于支撑延长杆的支撑臂,限位组件包括滑板和设置于滑板底部与支撑臂相抵接的限位件;与现有技术相比,通过支撑机构的支撑臂实现对延长杆的支撑作用,保证了延长杆不会发生弯曲,进而提高了延长杆的稳定性,保证了检测探头的稳定,提高了检测的精度,同时也避免了因检测探头晃动而使得检测探头发生碰撞进而对检测探头造成损坏。

图片来源于网络,如有侵权,请联系删除
今年以来久立特材新获得专利授权12个,较去年同期增加了50%。结合公司2024年年报财务数据,2024年公司在研发方面投入了3.62亿元,同比增6.6%。
数据来源:天眼查APP
以上内容为证券之星据公开信息整理,由AI算法生成(网信算备310104345710301240019号),不构成投资建议。
