直真科技获得实用新型专利授权:“具有断电自动复位功能的上水装置”
作者:小微
发表于:2025年06月10日
浏览量:63608

图片来源于网络,如有侵权,请联系删除
证券之星消息,根据天眼查APP数据显示直真科技(003007)新获得一项实用新型专利授权,专利名为“具有断电自动复位功能的上水装置”,专利申请号为CN202422366986.6,授权日为2025年6月10日。
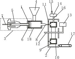
专利摘要:本实用新型公开了一种具有断电自动复位功能的上水装置,包括:机器人主体、电机、机械臂、注水枪以及自动复位机构,所述电机设置于所述机器人主体上,所述机械臂的一端与所述电机连接,所述注水枪连接于所述机械臂背离所述电机的一端,所述自动复位机构设置于所述机器人主体上并与所述机械臂连接。本方案可实现断电状态下机械臂的收回,可避免机械臂对火车的行驶造成干涉,从而避免机械臂的损坏。
今年以来直真科技新获得专利授权3个。结合公司2024年年报财务数据,2024年公司在研发方面投入了1.42亿元,同比减6.14%。
数据来源:天眼查APP
以上内容为证券之星据公开信息整理,由AI算法生成(网信算备310104345710301240019号),不构成投资建议。
