格力电器获得发明专利授权:“一种管线安装结构及包括其的衣物处理设备”
作者:小微
发表于:2025年06月11日
浏览量:49927

图片来源于网络,如有侵权,请联系删除
证券之星消息,根据天眼查APP数据显示格力电器(000651)新获得一项发明专利授权,专利名为“一种管线安装结构及包括其的衣物处理设备”,专利申请号为CN202011363940.9,授权日为2025年6月10日。
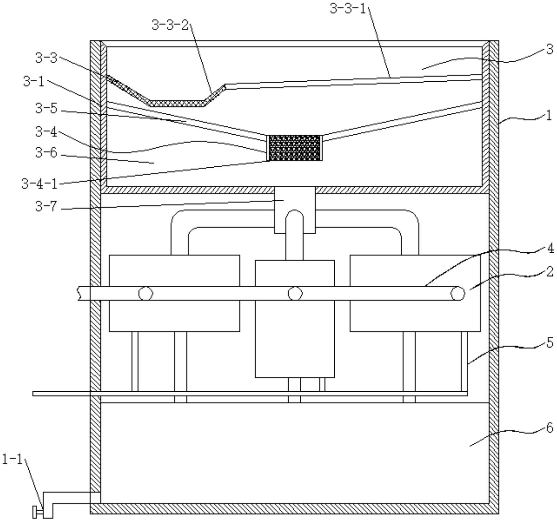
专利摘要:本发明提供一种管线安装结构及包括其的衣物处理设备。该管线安装结构,设置在可相对移动的第一部件和第二部件之间,包括:连接结构以及连接在连接结构两端的第一安装座和第二安装座,连接结构通过第一安装座可转动的连接至所述第一部件;连接结构通过第二安装座可转动的连接至第二部件;连接结构包括:能随第一部件和所述第二部件的相对移动实现多段折弯的连杆结构,其中:连杆结构的两端分别与第一安装座和第二安装座铰接,用于随连杆机构折弯走向依次固定第一部件和第二部件之间接设的管路和线路;连杆结构上设有至少一个水路转接头,用于接设设置在连杆结构上的管路。本发明使移动部件之间的管线布置更加方便可靠。

图片来源于网络,如有侵权,请联系删除
今年以来格力电器新获得专利授权2716个,较去年同期减少了5.5%。结合公司2024年年报财务数据,2024年公司在研发方面投入了69.04亿元,同比增2.1%。
数据来源:天眼查APP
以上内容为证券之星据公开信息整理,由AI算法生成(网信算备310104345710301240019号),不构成投资建议。
