XD新疆众获得实用新型专利授权:“天车自动吊运抱夹吊具”
作者:小微
发表于:2025年06月13日
浏览量:76968

图片来源于网络,如有侵权,请联系删除
证券之星消息,根据天眼查APP数据显示XD新疆众(600888)新获得一项实用新型专利授权,专利名为“天车自动吊运抱夹吊具”,专利申请号为CN202422298950.9,授权日为2025年6月13日。
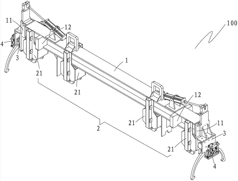
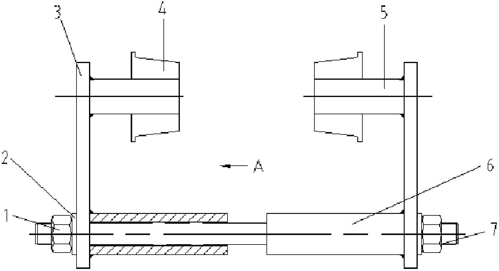
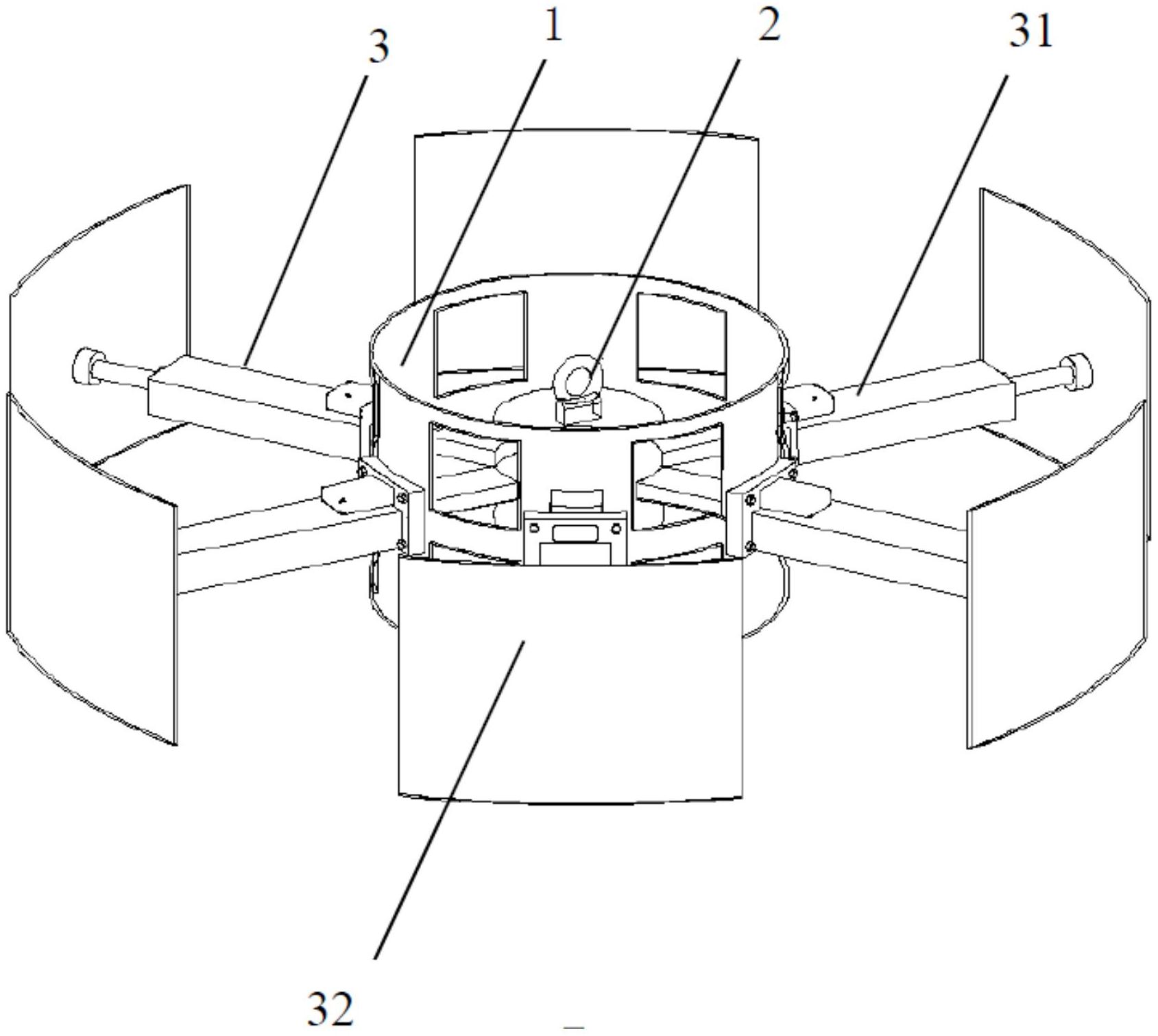
专利摘要:本实用新型涉及一种天车自动吊运抱夹吊具,包括:基板、提升机构、抱夹机构和对中机构,基板用于与提升机构和天车自动吊运设备相连接;提升机构用于带动抱夹机构进行移动;抱夹机构与提升机构连接,抱夹机构用于产生抱夹力;对中机构与抱夹机构固定连接,对中机构用于接收抱夹机构的抱夹力,并在抱夹力的作用下抱夹目标设备。该天车自动吊运抱夹吊具能够应用于天车自动吊运设备,实现坩埚锭的自动化转运,进而减少人工操作强度。

图片来源于网络,如有侵权,请联系删除
今年以来XD新疆众新获得专利授权10个,较去年同期减少了23.08%。结合公司2024年年报财务数据,2024年公司在研发方面投入了5776.91万元,同比增0.16%。

图片来源于网络,如有侵权,请联系删除
数据来源:天眼查APP
以上内容为证券之星据公开信息整理,由AI算法生成(网信算备310104345710301240019号),不构成投资建议。
