小熊电器获得实用新型专利授权:“一种压面配件用刮刀及其压面辊组件”
作者:小微
发表于:2025年06月14日
浏览量:58736

图片来源于网络,如有侵权,请联系删除
证券之星消息,根据天眼查APP数据显示小熊电器(002959)新获得一项实用新型专利授权,专利名为“一种压面配件用刮刀及其压面辊组件”,专利申请号为CN202422182476.3,授权日为2025年6月13日。
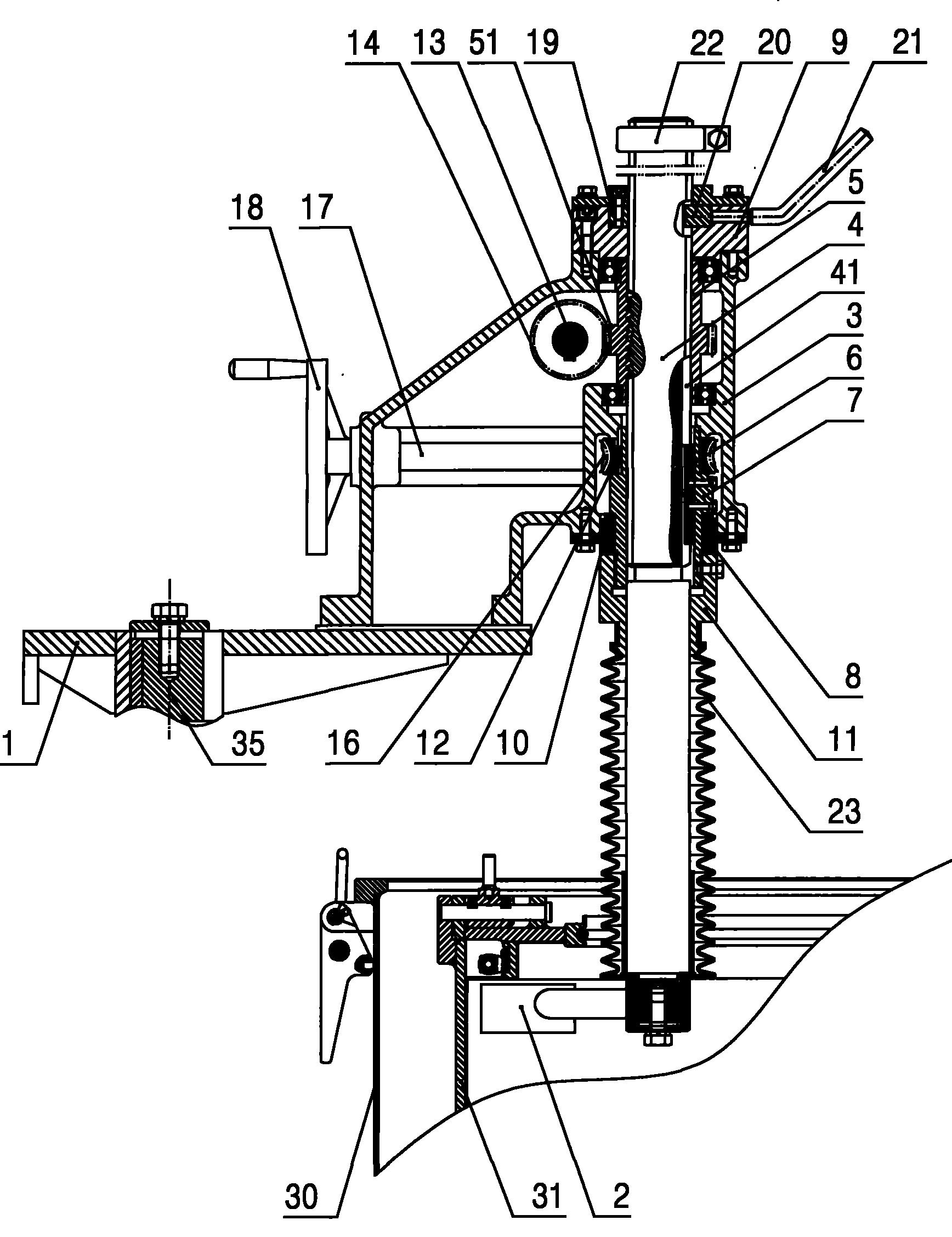
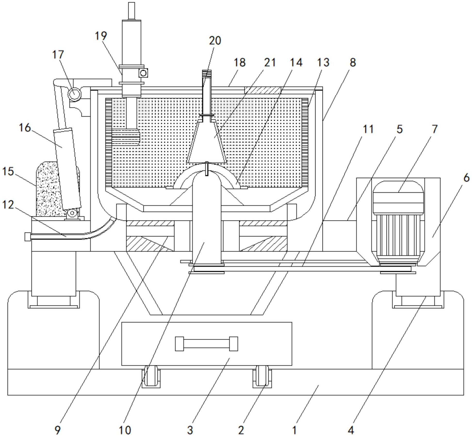
专利摘要:本实用新型公开了一种压面配件用刮刀及其压面辊组件,其中刮刀包括刮刀本体,所述刮刀本体包括所述刮刃和引导部,所述刮刃用于刮除面料,所述引导部衔接与所述刮刃,所述引导部设有引导面,所述引导面用于引导所述刮刃刮除的面料导出。以上通过在刮刀本体远离压辊一侧设置了引导部,且引导部朝向远离压辊的方向倾斜,有效引导了从压辊上清理下来的面料朝向指定方向运动,避免了面料在刮刀与压辊之间或后方的堆积,从而减少了面料的残留和堵塞问题,降低了设备的维护成本和难度。

图片来源于网络,如有侵权,请联系删除
今年以来小熊电器新获得专利授权139个,较去年同期增加了17.8%。结合公司2024年年报财务数据,2024年公司在研发方面投入了1.95亿元,同比增36.48%。

图片来源于网络,如有侵权,请联系删除
数据来源:天眼查APP
以上内容为证券之星据公开信息整理,由AI算法生成(网信算备310104345710301240019号),不构成投资建议。
