海尔智家获得实用新型专利授权:“集管结构、换热器及制冷设备”
作者:小微
发表于:2025年06月17日
浏览量:60307

图片来源于网络,如有侵权,请联系删除
证券之星消息,根据天眼查APP数据显示海尔智家(600690)新获得一项实用新型专利授权,专利名为“集管结构、换热器及制冷设备”,专利申请号为CN202421815643.7,授权日为2025年6月17日。
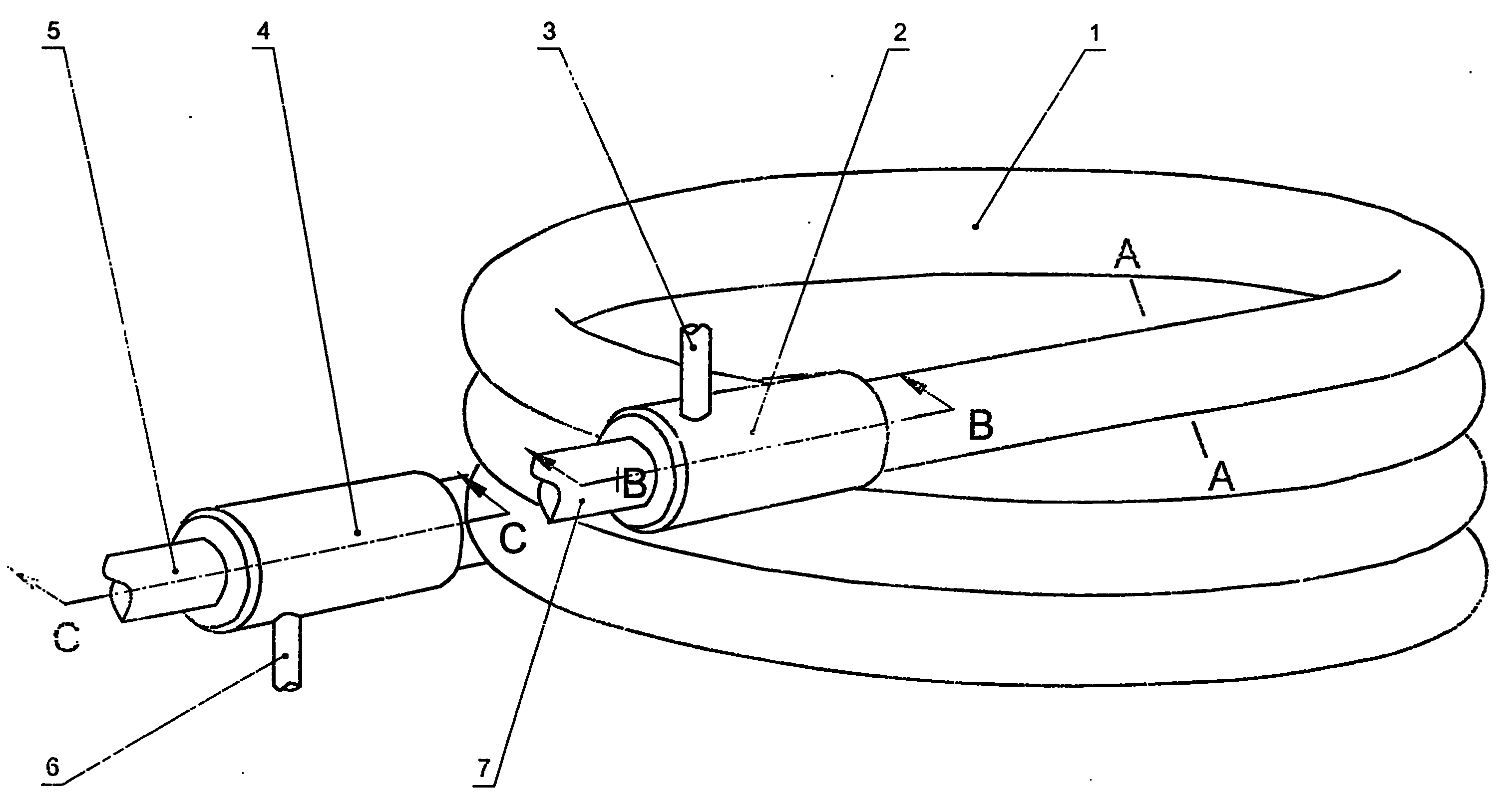
专利摘要:本申请涉及换热器技术领域,公开一种集管结构,包括:主集管,具有主管段、以及由主管段的部分管体构造成型的第一子集管,第一子集管用以将主管段和第一换热单元流路连通;第二子集管,其分别连接主管段和第二换热单元,用以将主管段和第二换热单元流路连通。本实施例中将主集管的部分管段作为其中一个或多个子集管使用,由于主集管与子集管为无焊缝的一体式结构,因此该种结构形式能够有效减少换热器整体的焊缝数量,进而有效降低了冷媒泄露发生的可能性,增加了空调器的使用安全性和稳定性。本申请还公开一种换热器及制冷设备。

图片来源于网络,如有侵权,请联系删除
今年以来海尔智家新获得专利授权2543个,较去年同期减少了20.56%。结合公司2024年年报财务数据,2024年公司在研发方面投入了107.4亿元,同比增3.47%。
数据来源:天眼查APP
以上内容为证券之星据公开信息整理,由AI算法生成(网信算备310104345710301240019号),不构成投资建议。
