长城汽车获得实用新型专利授权:“瓶体安装装置及车辆”
作者:小微
发表于:2025年06月20日
浏览量:68137

图片来源于网络,如有侵权,请联系删除
证券之星消息,根据天眼查APP数据显示长城汽车(601633)新获得一项实用新型专利授权,专利名为“瓶体安装装置及车辆”,专利申请号为CN202422390295.X,授权日为2025年6月20日。
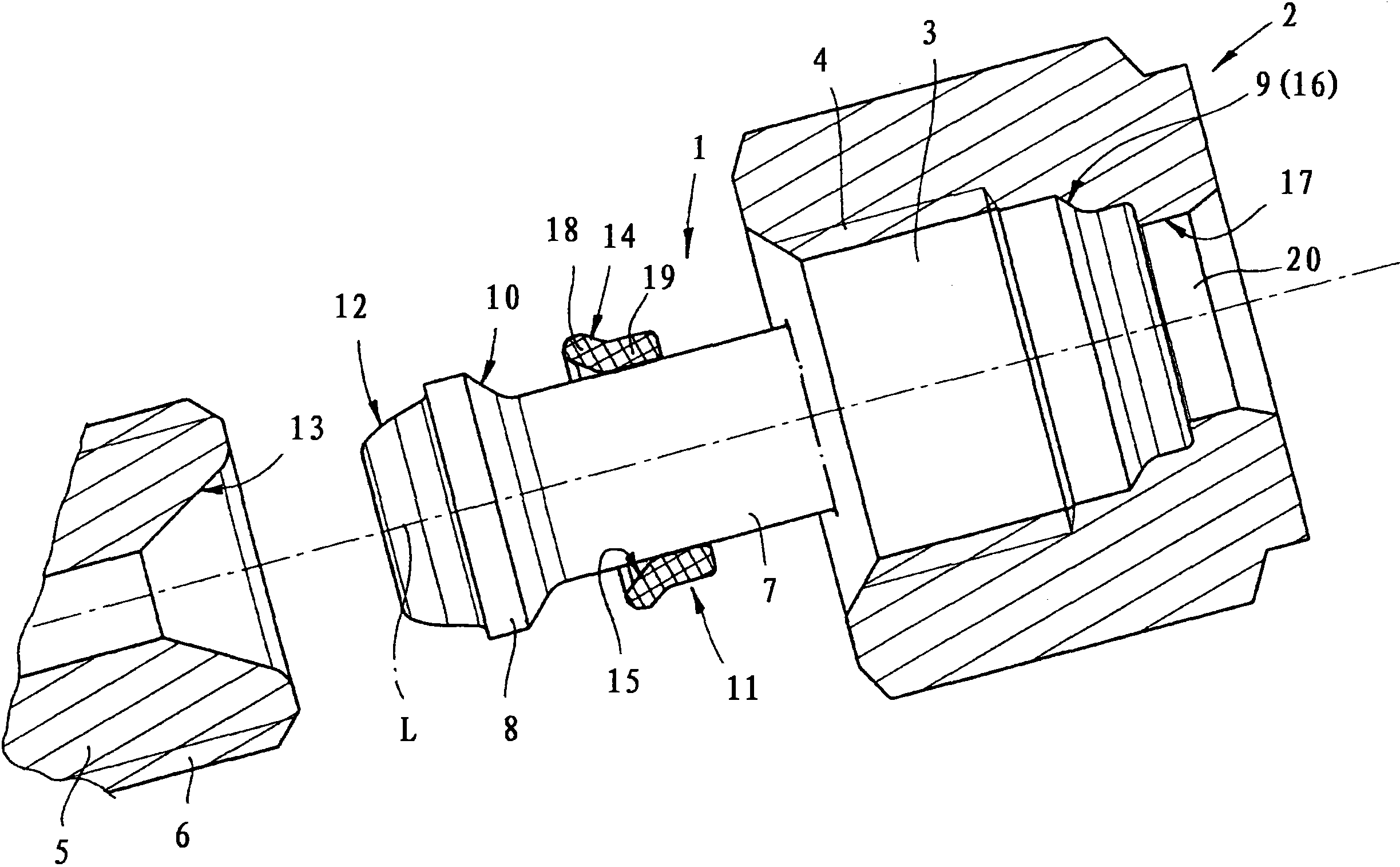
专利摘要:本实用新型提供了一种瓶体安装装置及车辆,本实用新型的瓶体安装装置包括框架、瓶体安装件和减振组件,框架上设有车身安装部,框架通过车身安装部安装于车身上,瓶体安装件与框架可拆卸连接,而能够将瓶体安装于框架上,减振组件设于框架上,且沿瓶体的轴向,减振组件与瓶体的瓶盖间距布置,减振组件朝向瓶盖的一侧设有减振部,瓶体沿自身轴向向减振组件移动,瓶盖能够抵接于减振部上。本实用新型所述的瓶体安装装置,通过在框架上设置减振组件,在车辆发生撞击时,设置的减振组件可较好的减缓瓶盖部位受到的冲击力,而减小瓶体内容纳物泄露的可能,应用于车辆上,利于提高车辆行驶的安全性。

图片来源于网络,如有侵权,请联系删除
今年以来长城汽车新获得专利授权1367个,较去年同期增加了56.41%。结合公司2024年年报财务数据,2024年公司在研发方面投入了92.84亿元,同比增15.27%。
通过天眼查大数据分析,长城汽车股份有限公司共对外投资了74家企业,参与招投标项目2429次;财产线索方面有商标信息6790条,专利信息24186条,著作权信息194条;此外企业还拥有行政许可619个。
数据来源:天眼查APP
以上内容为证券之星据公开信息整理,由AI算法生成(网信算备310104345710301240019号),不构成投资建议。
