航宇科技获得实用新型专利授权:“一种用于环形工件电火花高向切割的夹具”
作者:小微
发表于:2025年06月21日
浏览量:83350

图片来源于网络,如有侵权,请联系删除
证券之星消息,根据天眼查APP数据显示航宇科技(688239)新获得一项实用新型专利授权,专利名为“一种用于环形工件电火花高向切割的夹具”,专利申请号为CN202421805232.X,授权日为2025年6月6日。
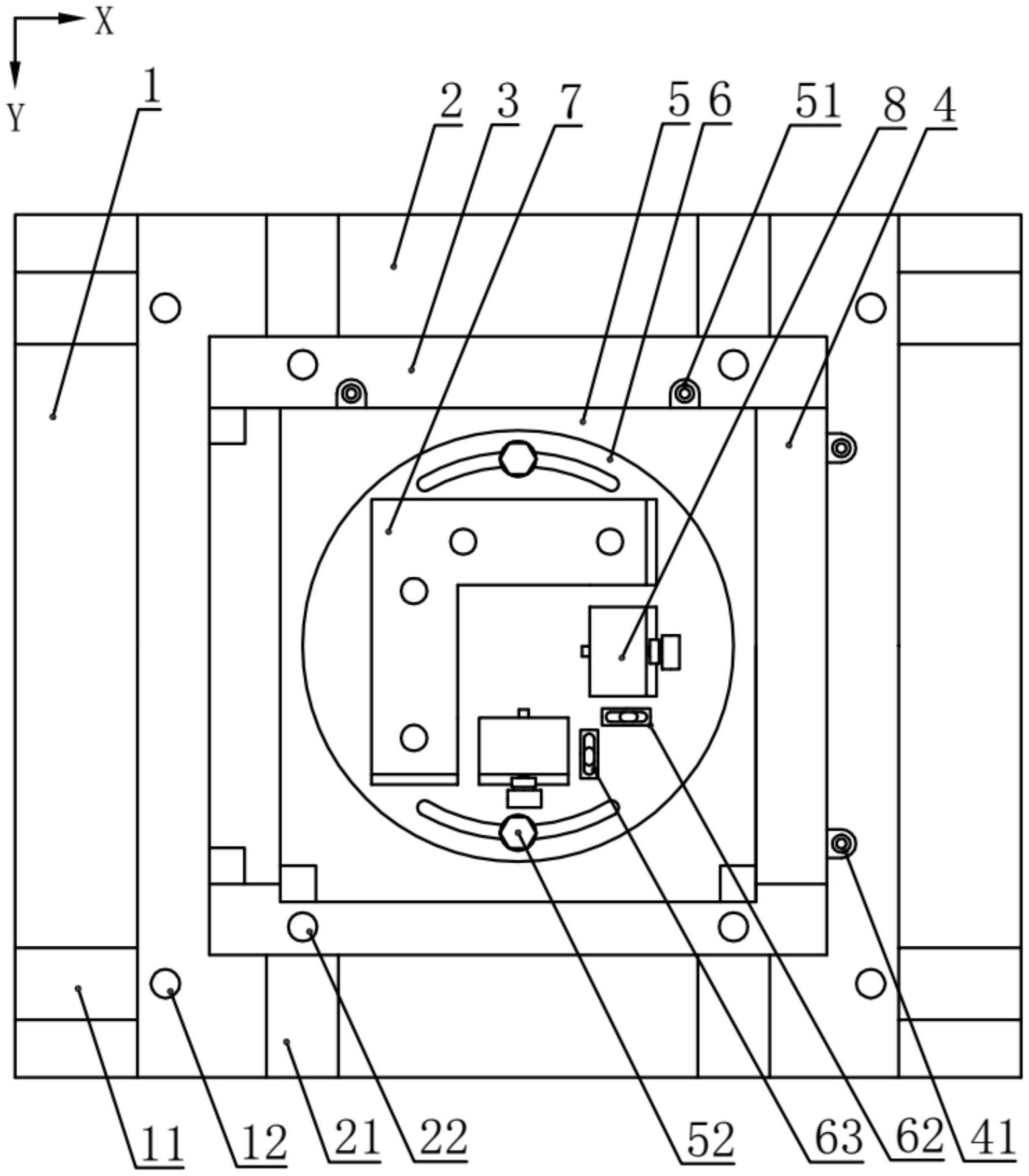
专利摘要:本实用新型公开一种用于环形工件电火花高向切割的夹具,包括基座和多个弧形支臂,所述基座包括立板,多个弧形支臂环形均布在立板的正面上,弧形支臂上设置有弧形滑槽,插销穿过弧形滑槽后插接在立板上,弧形滑槽与插销的外柱面滑动配合;在立板的中心孔上转动安装在有转轴,转轴的第一端从立板的正面伸出并安装有转轮,所述弧形支臂的内侧端通过转动销与所述转轮连接,所述转轴的第二端从所述立板的背面伸出并安装有手柄,在所述立板与所述转轴之间安装有棘轮锁止机构。通过转动手柄,进而带动转轮转动,使得弧形支臂的外侧端张开并撑紧在环形工件的内孔上,当弧形支臂撑紧到位后,棘轮锁止机构可以防止转轴反转,避免弧形支臂自行松开。
今年以来航宇科技新获得专利授权7个,较去年同期减少了41.67%。结合公司2024年年报财务数据,2024年公司在研发方面投入了7694.5万元,同比减6.27%。
通过天眼查大数据分析,贵州航宇科技发展股份有限公司共对外投资了11家企业,参与招投标项目192次;财产线索方面有商标信息16条,专利信息195条,著作权信息4条;此外企业还拥有行政许可33个。
数据来源:天眼查APP
以上内容为证券之星据公开信息整理,由AI算法生成(网信算备310104345710301240019号),不构成投资建议。
