新泉股份获得实用新型专利授权:“一种X向对开扶手锁止结构”
作者:小微
发表于:2025年06月21日
浏览量:62437

图片来源于网络,如有侵权,请联系删除
证券之星消息,根据天眼查APP数据显示新泉股份(603179)新获得一项实用新型专利授权,专利名为“一种X向对开扶手锁止结构”,专利申请号为CN202422164663.9,授权日为2025年6月6日。
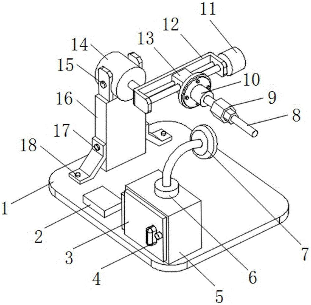
专利摘要:本实用新型属于汽车扶手领域,具体涉及一种X向对开扶手锁止结构,包括按钮、转换压块、两锁钩、轴销和两复位扭簧,按钮上设置有水平传动轴,传动轴前部与转换压块上部相接触,转换压块为竖直方向设置并与传动轴相垂直,两锁钩左右平行相连且两锁钩底部被轴销贯穿,锁钩后侧设置有压杆,两复位扭簧中间套接在压杆上、两侧套接在轴销上,转换压块中部两侧与两压杆相接触,转换压块上部与传动轴前部呈45°斜面接触,转换压块中部两侧下面设置有凸块,凸块与压杆接触,转换压块中下部连接有锁基座,锁基座上设置有与转换压块中部相适配的若干导向筋。本实用新型通过转换压块,将X向力转换成Z向的力,减少锁钩正X向空间占用,可以适配更多扶手。

图片来源于网络,如有侵权,请联系删除
今年以来新泉股份新获得专利授权33个,较去年同期减少了36.54%。结合公司2024年年报财务数据,2024年公司在研发方面投入了5.49亿元,同比增20.02%。

图片来源于网络,如有侵权,请联系删除
通过天眼查大数据分析,江苏新泉汽车饰件股份有限公司共对外投资了21家企业,参与招投标项目55次;财产线索方面有商标信息2条,专利信息353条,著作权信息5条;此外企业还拥有行政许可38个。
数据来源:天眼查APP
以上内容为证券之星据公开信息整理,由AI算法生成(网信算备310104345710301240019号),不构成投资建议。
