容百科技获得实用新型专利授权:“一种用于原位产气检测的电化学池模具”
作者:小微
发表于:2025年06月27日
浏览量:70473

图片来源于网络,如有侵权,请联系删除
证券之星消息,根据天眼查APP数据显示容百科技(688005)新获得一项实用新型专利授权,专利名为“一种用于原位产气检测的电化学池模具”,专利申请号为CN202421434102.X,授权日为2025年6月27日。
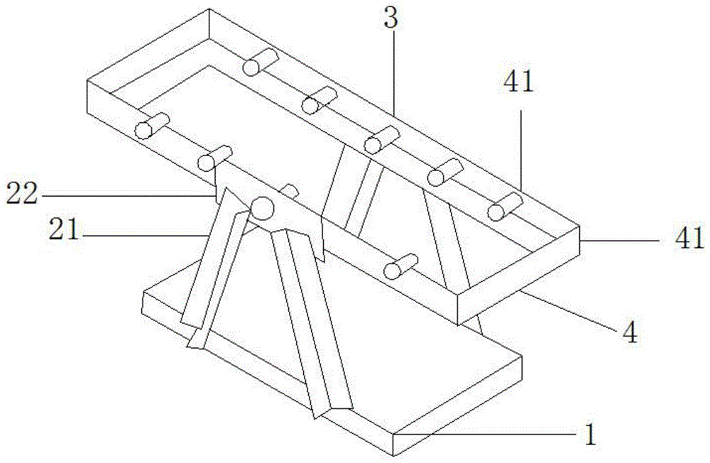
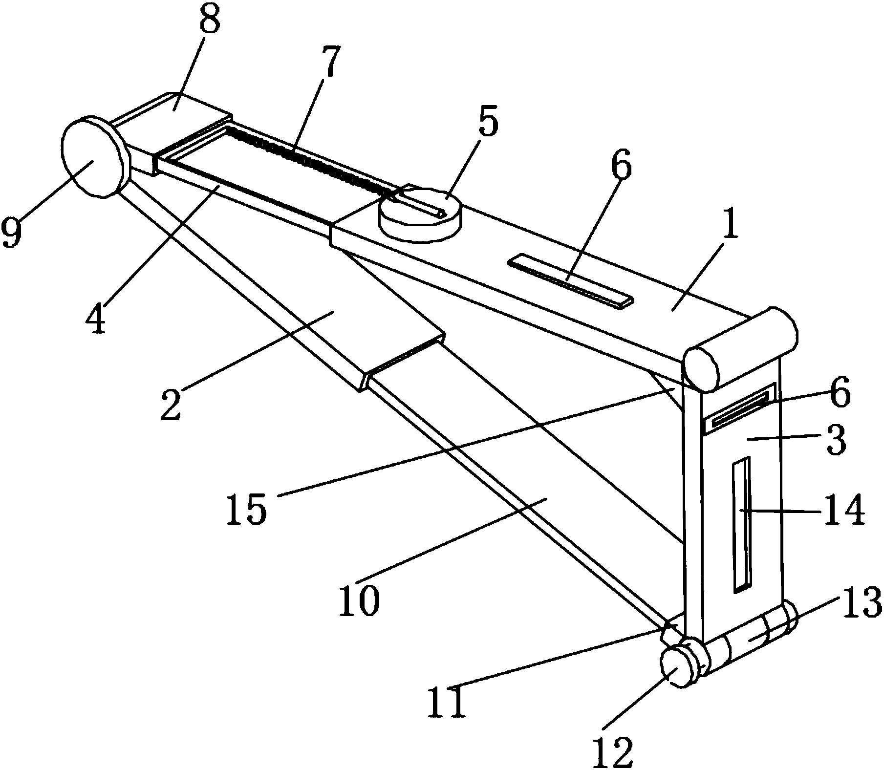
专利摘要:本实用新型公开了一种用于原位产气检测的电化学池模具,包括:模具底座;活动杆,可转动的设于模具底座;隔膜袋,与活动杆固定连接,隔膜袋内设有带有第一极耳的极片,活动杆可通过转动收卷隔膜袋;隔膜,设于模具底座;模具上壳,设于模具底座;压力组件,设于模具上壳,压力组件用于对正极极片、负极极片以及极片加压;金属杆,设有多个,且均可移动的设于模具上壳,金属杆抵接于第一极耳、第三极耳时用于形成导电通路;柔性传感器,设于压力组件并用于检测压力组件输出的压力。本申请提供的一种用于原位产气检测的电化学池模具,通过活动杆的转动实现对称电池的SOC可控,无需拆开模具,减少对极片的破坏,能准确的进行单一极片产气行为的检测。

图片来源于网络,如有侵权,请联系删除
今年以来容百科技新获得专利授权42个,较去年同期减少了19.23%。结合公司2024年年报财务数据,2024年公司在研发方面投入了4.24亿元,同比增19.74%。
通过天眼查大数据分析,宁波容百新能源科技股份有限公司共对外投资了15家企业,参与招投标项目61次;财产线索方面有商标信息14条,专利信息674条,著作权信息1条;此外企业还拥有行政许可21个。
数据来源:天眼查APP
以上内容为证券之星据公开信息整理,由AI算法生成(网信算备310104345710301240019号),不构成投资建议。
