美的集团获得实用新型专利授权:“开门装置及电器设备”
作者:小微
发表于:2025年07月01日
浏览量:60652

图片来源于网络,如有侵权,请联系删除
证券之星消息,根据天眼查APP数据显示美的集团(000333)新获得一项实用新型专利授权,专利名为“开门装置及电器设备”,专利申请号为CN202421836027.X,授权日为2025年7月1日。
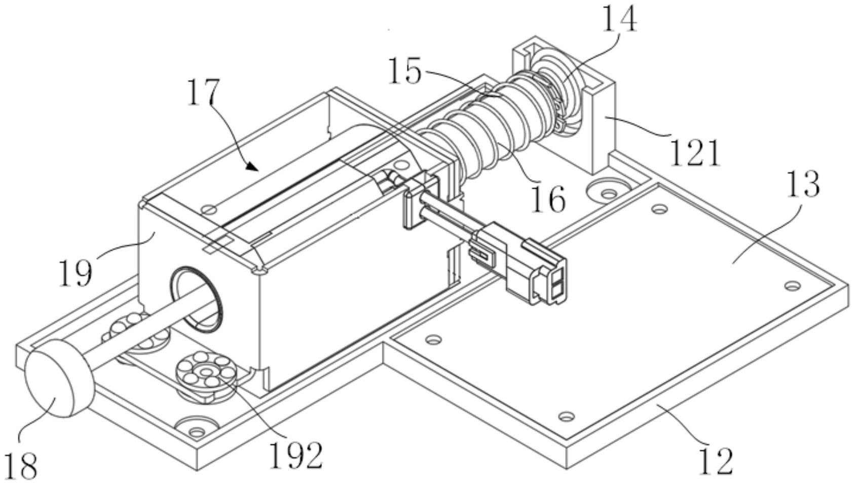
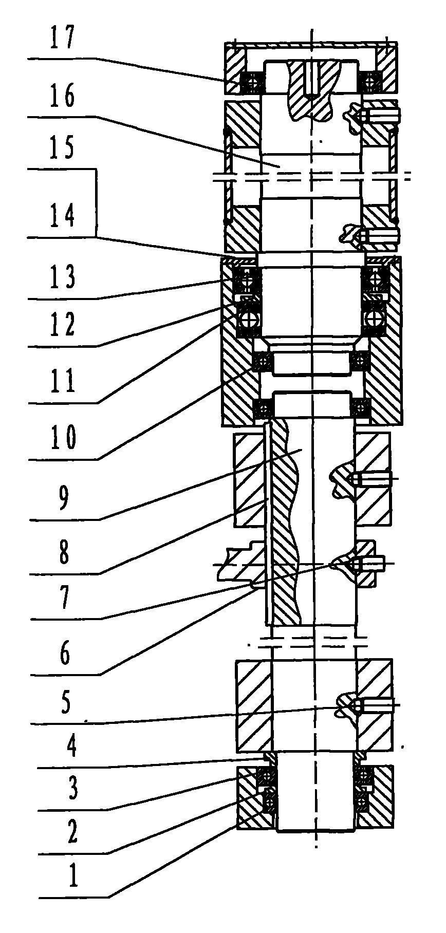
专利摘要:本申请公开了一种开门装置及电器设备,解决现有技术开门装置中的驱动件需要频繁切换运行方向的技术问题。开门装置包括驱动件、顶门件和转向组件,转向组件包括主动轮、转向轮和从动轮,主动轮连接于驱动件的输出端;主动轮具有与第一啮合部啮合的第一状态和通过转向轮与第一啮合部啮合的第二状态;从动轮能够与主动轮或转向轮中的一个啮合,以致顶门件在伸出状态和复位状态之间切换。转向轮起到改变从动轮的转动方向的作用,在主动轮不改变运动方向的情况下,通过转向轮驱动从动轮朝向不同的方向运动,在工作过程中,驱动件只需驱动主动轮朝向同一方向运动,避免频繁切换运动方向对驱动件造成损伤。

图片来源于网络,如有侵权,请联系删除
今年以来美的集团新获得专利授权1270个,较去年同期减少了24.31%。结合公司2024年年报财务数据,2024年公司在研发方面投入了162.33亿元,同比增11.31%。

图片来源于网络,如有侵权,请联系删除
通过天眼查大数据分析,美的集团股份有限公司共对外投资了127家企业,参与招投标项目4186次;财产线索方面有商标信息9707条,专利信息65520条,著作权信息124条;此外企业还拥有行政许可84个。
数据来源:天眼查APP
以上内容为证券之星据公开信息整理,由AI算法生成(网信算备310104345710301240019号),不构成投资建议。
