惠达卫浴获得实用新型专利授权:“一种具有防止堵塞结构的坐便器”
作者:小微
发表于:2025年07月15日
浏览量:60733

图片来源于网络,如有侵权,请联系删除
证券之星消息,根据天眼查APP数据显示惠达卫浴(603385)新获得一项实用新型专利授权,专利名为“一种具有防止堵塞结构的坐便器”,专利申请号为CN202422296862.5,授权日为2025年7月15日。
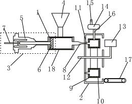
专利摘要:本实用新型公开一种具有防止堵塞结构的坐便器,坐便器的锅的内壁设置有溢流孔,水箱的进水水路出口连接在溢流孔的外部且溢流孔位于出口内,进水水路的底部设置出水孔,出水孔位于溢流孔的下方,副水道的进口端连通出水孔,副水道的出口端连通下水道口在,本实用新型原有粘接成型工艺基础上,通过在锅内增加溢流孔,使其与副水道相通,当遇到坐便器排污口堵塞时,水能通过溢流孔顺势排出,不会溢出坐便器。
今年以来惠达卫浴新获得专利授权107个,较去年同期增加了24.42%。结合公司2024年年报财务数据,2024年公司在研发方面投入了1.4亿元,同比减6.92%。
通过天眼查大数据分析,惠达卫浴股份有限公司共对外投资了48家企业,参与招投标项目365次;财产线索方面有商标信息198条,专利信息1455条,著作权信息24条;此外企业还拥有行政许可19个。
数据来源:天眼查APP
以上内容为证券之星据公开信息整理,由AI算法生成(网信算备310104345710301240019号),不构成投资建议。
