天富能源获得实用新型专利授权:“一种太阳能储能结构”
作者:小微
发表于:2025年07月22日
浏览量:68460

图片来源于网络,如有侵权,请联系删除
证券之星消息,根据天眼查APP数据显示天富能源(600509)新获得一项实用新型专利授权,专利名为“一种太阳能储能结构”,专利申请号为CN202421625513.7,授权日为2025年7月22日。
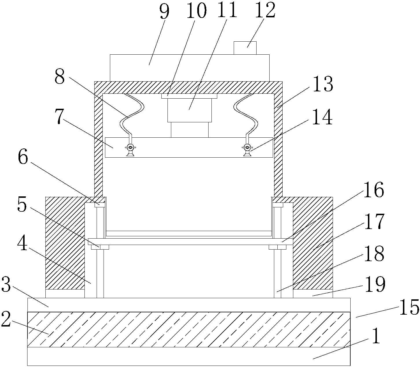
专利摘要:本实用新型公开了一种太阳能储能结构,包括太阳能板和支撑架,所述支撑架对称设置在所述太阳能板下端,所述太阳能板侧壁设有驱动盒,所述驱动盒相邻所述太阳能板的一端开设有驱动槽,所述驱动槽内通过驱动组件活动安装有活动块,本实用新型通过支撑架对太阳能板进行支撑,通过固定板和支撑板以及固定孔的设置,可以通过固定孔进行螺栓固定,可以对太阳能板进行牢靠稳定的支撑,太阳能板由玻璃防护罩和光伏板以及背板共同组成,便于光伏板进行有效的防护,光伏板外部通过导线连接有储能设备,通过中空清洁板对光伏板上端的玻璃防护罩进行定期清洁,本实用新型具有实用性强和清洁便捷的特点。
今年以来天富能源新获得专利授权23个,与去年同期持平。结合公司2024年年报财务数据,2024年公司在研发方面投入了1783.95万元,同比增442.77%。
通过天眼查大数据分析,新疆天富能源股份有限公司共对外投资了38家企业,参与招投标项目7611次;财产线索方面有商标信息1条,专利信息159条,著作权信息3条;此外企业还拥有行政许可112个。
数据来源:天眼查APP
以上内容为证券之星据公开信息整理,由AI算法生成(网信算备310104345710301240019号),不构成投资建议。
