京东方A获得发明专利授权:“显示基板及其制备方法、显示装置”
作者:小微
发表于:2025年07月26日
浏览量:56438

图片来源于网络,如有侵权,请联系删除
证券之星消息,根据天眼查APP数据显示京东方A(000725)新获得一项发明专利授权,专利名为“显示基板及其制备方法、显示装置”,专利申请号为CN202011147168.7,授权日为2025年7月25日。
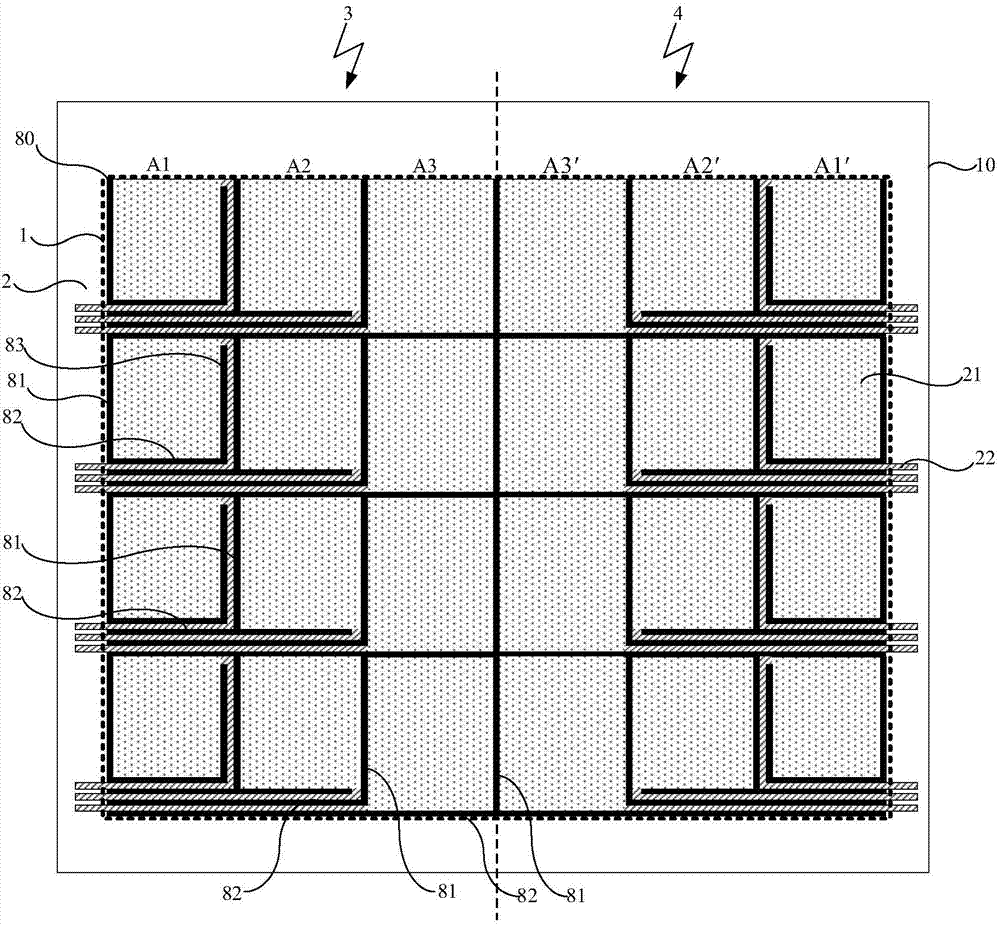
专利摘要:一种显示基板及其制备方法、显示装置。该制备方法包括:提供衬底基板,衬底基板上形成有多个像素驱动电路,多个像素驱动电路包括第一像素驱动电路和第二像素驱动电路;在衬底基板上形成第一绝缘层;在第一绝缘层上形成第一走线层,第一走线层包括第一连接走线,第一连接走线形成为通过第一绝缘层与第一像素驱动电路电连接;在第一走线层上形成并构图第二绝缘层;在第二绝缘层上形成第二走线层,第二走线层包括第二连接走线,第二连接走线形成为通过第一绝缘层和第二绝缘层与第二像素驱动电路电连接;以及在第二走线层上形成并构图第三绝缘层;第三绝缘层以及第二绝缘层采用同一掩模版进行构图工艺。

图片来源于网络,如有侵权,请联系删除
今年以来京东方A新获得专利授权2243个,较去年同期增加了1.04%。结合公司2024年年报财务数据,2024年公司在研发方面投入了131.23亿元,同比增15.94%。

图片来源于网络,如有侵权,请联系删除
数据来源:天眼查APP
以上内容为证券之星据公开信息整理,由AI算法生成(网信算备310104345710301240019号),不构成投资建议。
