阳光电源获得实用新型专利授权:“一种散热器及功率变换设备”
作者:小微
发表于:2025年08月01日
浏览量:49525

图片来源于网络,如有侵权,请联系删除
证券之星消息,根据天眼查APP数据显示阳光电源(300274)新获得一项实用新型专利授权,专利名为“一种散热器及功率变换设备”,专利申请号为CN202422209594.9,授权日为2025年8月1日。
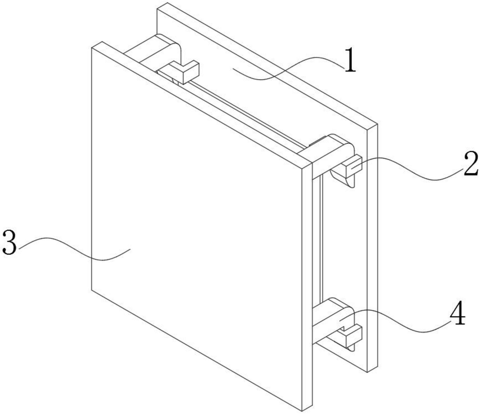
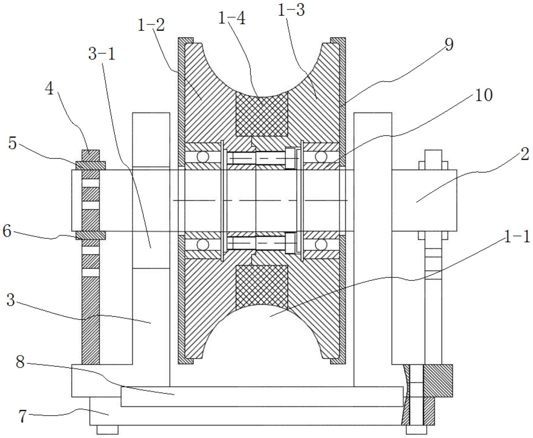
专利摘要:本实用新型公开了一种散热器及功率变换设备,本方案包括冷凝器和蒸发器,冷凝器包括第一集流腔、多个散热管和第二集流腔,多个散热管两端连通第一集流腔和第二集流腔;第一集流腔设置于蒸发器的后侧板,并与蒸发器的相变腔体连通,相变腔体内填充有相变介质;蒸发器的前侧板设置有用于安装功率器件的散热安装部。由于本申请中的冷凝器布置在蒸发器的后侧板处,散热安装部位于蒸发器的前侧板,改变了相变介质气化时的汽流方向,一方面可增加气化后的相变介质与后侧板的接触时间,另一方面可增加气化后的相变介质在冷凝器的停留时间,能够更好的与外界进行热量交换,从而进一步提高了散热效率。

图片来源于网络,如有侵权,请联系删除
今年以来阳光电源新获得专利授权375个,较去年同期减少了4.82%。结合公司2024年年报财务数据,2024年公司在研发方面投入了31.64亿元,同比增29.26%。

图片来源于网络,如有侵权,请联系删除
通过天眼查大数据分析,阳光电源股份有限公司共对外投资了88家企业,参与招投标项目3345次;财产线索方面有商标信息1207条,专利信息4659条,著作权信息26条;此外企业还拥有行政许可112个。
数据来源:天眼查APP
以上内容为证券之星据公开信息整理,由AI算法生成(网信算备310104345710301240019号),不构成投资建议。
