海目星获得实用新型专利授权:“加热装置”
作者:小微
发表于:2025年08月01日
浏览量:70900

图片来源于网络,如有侵权,请联系删除
证券之星消息,根据天眼查APP数据显示海目星(688559)新获得一项实用新型专利授权,专利名为“加热装置”,专利申请号为CN202421742755.4,授权日为2025年8月1日。
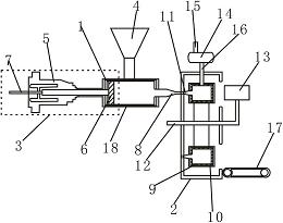
专利摘要:本实用新型公开了一种加热装置,涉及电芯加热技术领域,其中,加热装置包括机架、多个加热组件以及输送组件;多个加热组件沿所述机架的长度方向排布,形成供待加热电芯穿过的加热通道,所述加热组件包括间隔环设于所述待加热电芯外圈的多个线圈加热模组,所述线圈加热模组与所述机架固定连接,用于加热所述待加热电芯;输送组件包括传动连接的驱动件和运输带,所述驱动件固定于所述机架,所述运输带穿过所述加热通道,以输送所述待加热电芯至所述加热通道进行加热;本实用新型提供的技术方案能够改善加热装置的加热效率,提高电芯的生产效率。

图片来源于网络,如有侵权,请联系删除
今年以来海目星新获得专利授权189个,较去年同期减少了6.9%。结合公司2024年年报财务数据,2024年公司在研发方面投入了4.76亿元,同比减11.95%。
通过天眼查大数据分析,海目星激光科技集团股份有限公司共对外投资了31家企业,参与招投标项目191次;财产线索方面有商标信息51条,专利信息1650条,著作权信息215条;此外企业还拥有行政许可34个。
数据来源:天眼查APP
以上内容为证券之星据公开信息整理,由AI算法生成(网信算备310104345710301240019号),不构成投资建议。
