江海股份获得发明专利授权:“一种具有限位功能的螺栓式电容器耐压测试装置”
作者:小微
发表于:2025年08月02日
浏览量:70388

图片来源于网络,如有侵权,请联系删除
证券之星消息,根据天眼查APP数据显示江海股份(002484)新获得一项发明专利授权,专利名为“一种具有限位功能的螺栓式电容器耐压测试装置”,专利申请号为CN202510749426.5,授权日为2025年8月1日。
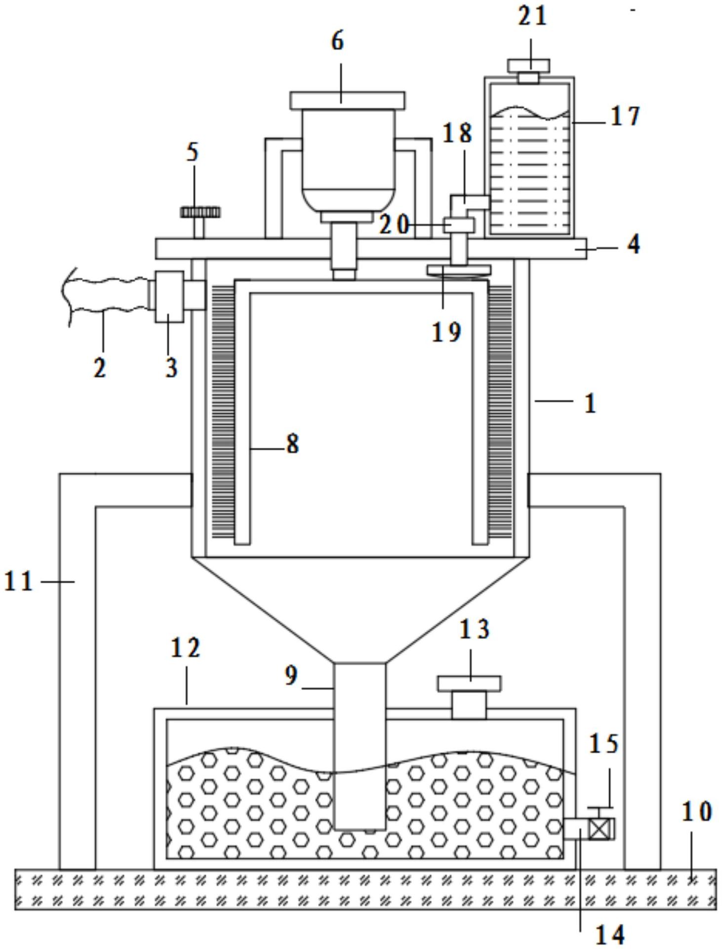
专利摘要:本发明公开了一种具有限位功能的螺栓式电容器耐压测试装置,涉及螺栓式电容器耐压测试装置技术领域。包括壳体,壳体内安装有集流筒,集流筒下方安装有筛板,筛板对螺栓式电容器筛选,筛板中部安装有固定轴,筛板下方安装有多组输送筒,输送筒下方安装有隔板,隔板下方安装有凸轮,凸轮外侧安装有检测筒,检测筒内安装有第一导电板和第二导电板,检测筒下方连接有下料管,下料管分别连接有不良品箱和良品箱,筛板上下往复的同时进行正反旋转,筛板上下移动形成上下快速振动,筛板正反转形成左右快速振动,通过上下振动和左右振动形成复合振动处理,使筛板带动螺栓式电容器快速振动,实现螺栓式电容器的筛选,以提高测试效率。

图片来源于网络,如有侵权,请联系删除
今年以来江海股份新获得专利授权8个,较去年同期增加了14.29%。结合公司2024年年报财务数据,2024年公司在研发方面投入了2.7亿元,同比增16.23%。

图片来源于网络,如有侵权,请联系删除
通过天眼查大数据分析,南通江海电容器股份有限公司共对外投资了20家企业,参与招投标项目80次;财产线索方面有商标信息8条,专利信息259条;此外企业还拥有行政许可15个。
数据来源:天眼查APP
以上内容为证券之星据公开信息整理,由AI算法生成(网信算备310104345710301240019号),不构成投资建议。
