格力电器获得实用新型专利授权:“一种空调器”
作者:小微
发表于:2025年08月05日
浏览量:54418

图片来源于网络,如有侵权,请联系删除
证券之星消息,根据天眼查APP数据显示格力电器(000651)新获得一项实用新型专利授权,专利名为“一种空调器”,专利申请号为CN202422350888.3,授权日为2025年8月5日。
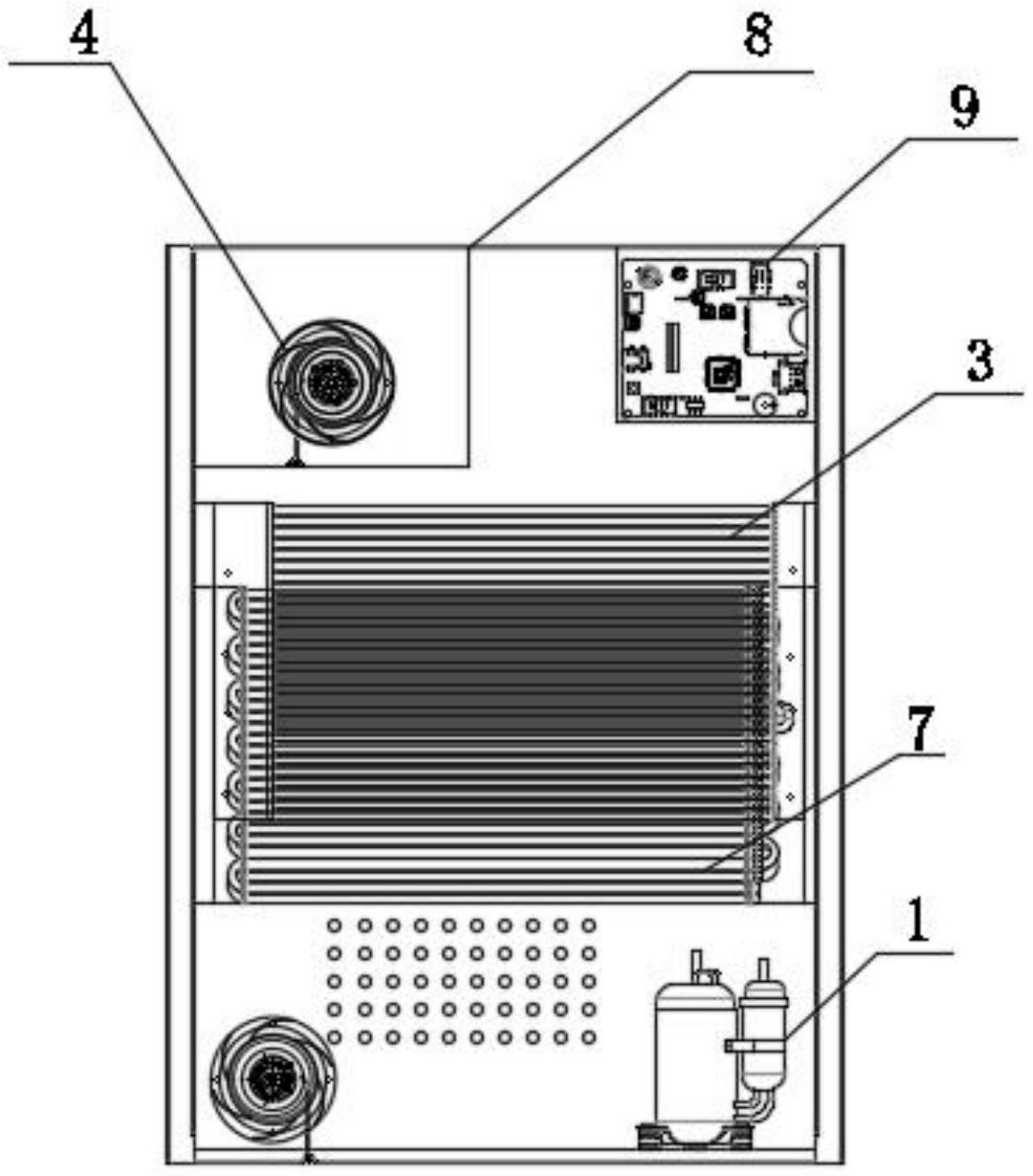
专利摘要:本实用新型提供了一种空调器,该空调器包括:壳体,壳体具有独立设置的第一腔室和第二腔室;蒸发器,蒸发器安装在第一腔室内;冷凝器,冷凝器安装在第二腔室内;第一风机组件,第一风机组件安装在第二腔室内,第一风机组件与冷凝器之间设有导风通道;其中,第二腔室设有第一进风口和第一出风口,第一进风口与冷凝器的换热侧相对设置,第一出风口与第一风机组件的出风侧连通设置,室外空气依次经第一进风口、冷凝器、导风通道后,由第一出风口排向室外。空调器的室外侧采用吸风式换热,将室外较低温的空气吸入室外侧的导风通道内进行换热器散热,在第二腔室的容积不变的情况下,能够提高室外侧出风量,进而提高整机换热性能,减小能量损耗。

图片来源于网络,如有侵权,请联系删除
今年以来格力电器新获得专利授权4102个,较去年同期减少了2.87%。结合公司2024年年报财务数据,2024年公司在研发方面投入了69.04亿元,同比增2.1%。
通过天眼查大数据分析,珠海格力电器股份有限公司共对外投资了101家企业,参与招投标项目28356次;财产线索方面有商标信息8147条,专利信息115713条,著作权信息297条;此外企业还拥有行政许可830个。
数据来源:天眼查APP
以上内容为证券之星据公开信息整理,由AI算法生成(网信算备310104345710301240019号),不构成投资建议。
