铜陵有色获得实用新型专利授权:“阴极板检测装置”
作者:小微
发表于:2025年08月05日
浏览量:67986

图片来源于网络,如有侵权,请联系删除
证券之星消息,根据天眼查APP数据显示铜陵有色(000630)新获得一项实用新型专利授权,专利名为“阴极板检测装置”,专利申请号为CN202422437233.X,授权日为2025年8月5日。
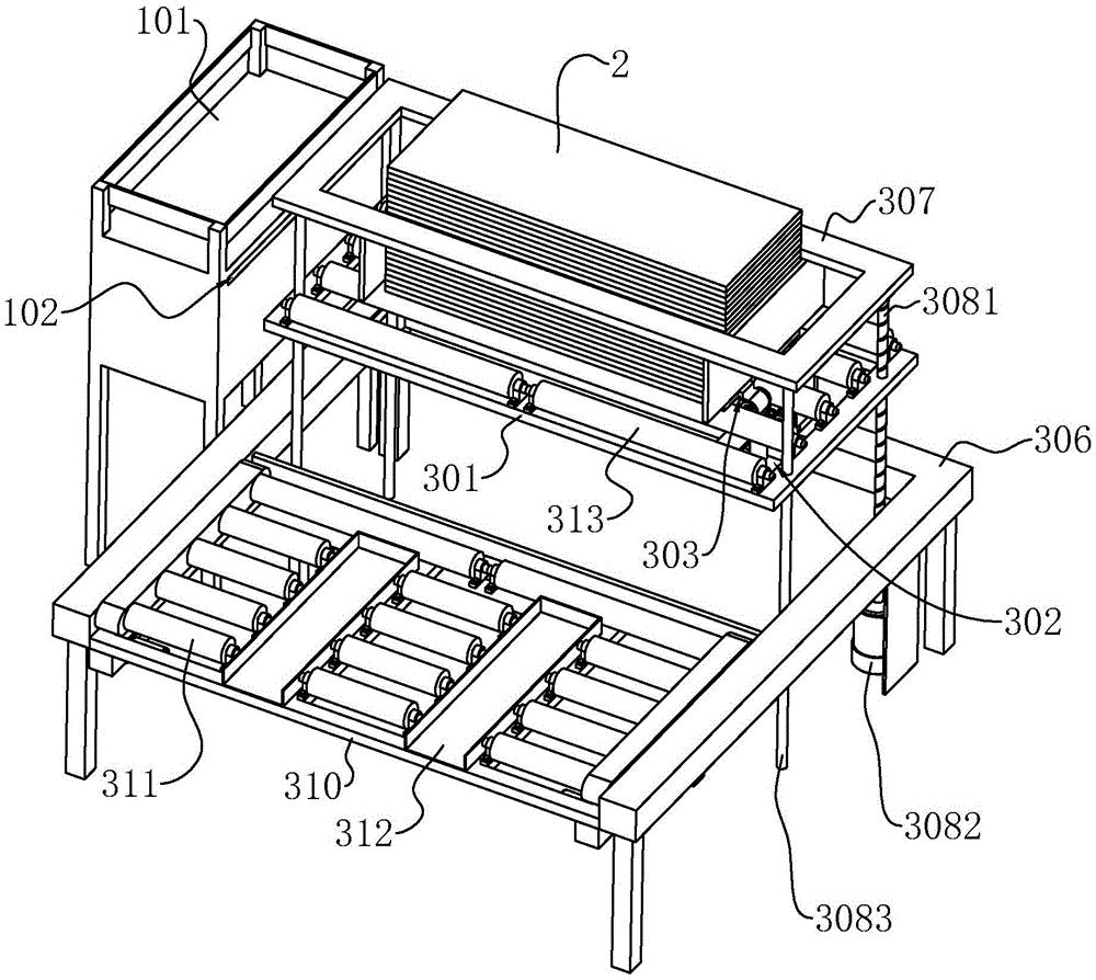
专利摘要:本实用新型提供了一种阴极板检测装置,阴极板检测工位在阴极板的板面两侧设有红外探测传感器,红外探测传感器的探测方向指向阴极板的板面且其探测点呈矩阵式均匀排布;阴极板的板面两侧还设有摄像探测仪和背景光投射仪,通过两者的配合检测包边条的位置与姿态,保证阴极板符合作业标准,间接提高了阴极板回槽电解生产种板的合格率。

图片来源于网络,如有侵权,请联系删除
今年以来铜陵有色新获得专利授权73个,较去年同期增加了151.72%。结合公司2024年年报财务数据,2024年公司在研发方面投入了7.29亿元,同比减9.12%。
通过天眼查大数据分析,铜陵有色金属集团股份有限公司共对外投资了48家企业,参与招投标项目57811次;财产线索方面有商标信息3条,专利信息967条,著作权信息9条;此外企业还拥有行政许可88个。
数据来源:天眼查APP
以上内容为证券之星据公开信息整理,由AI算法生成(网信算备310104345710301240019号),不构成投资建议。
