海尔智家获得发明专利授权:“一种油网结构及油烟机”
作者:小微
发表于:2025年08月09日
浏览量:81959

图片来源于网络,如有侵权,请联系删除
证券之星消息,根据天眼查APP数据显示海尔智家(600690)新获得一项发明专利授权,专利名为“一种油网结构及油烟机”,专利申请号为CN202010316743.5,授权日为2025年8月8日。
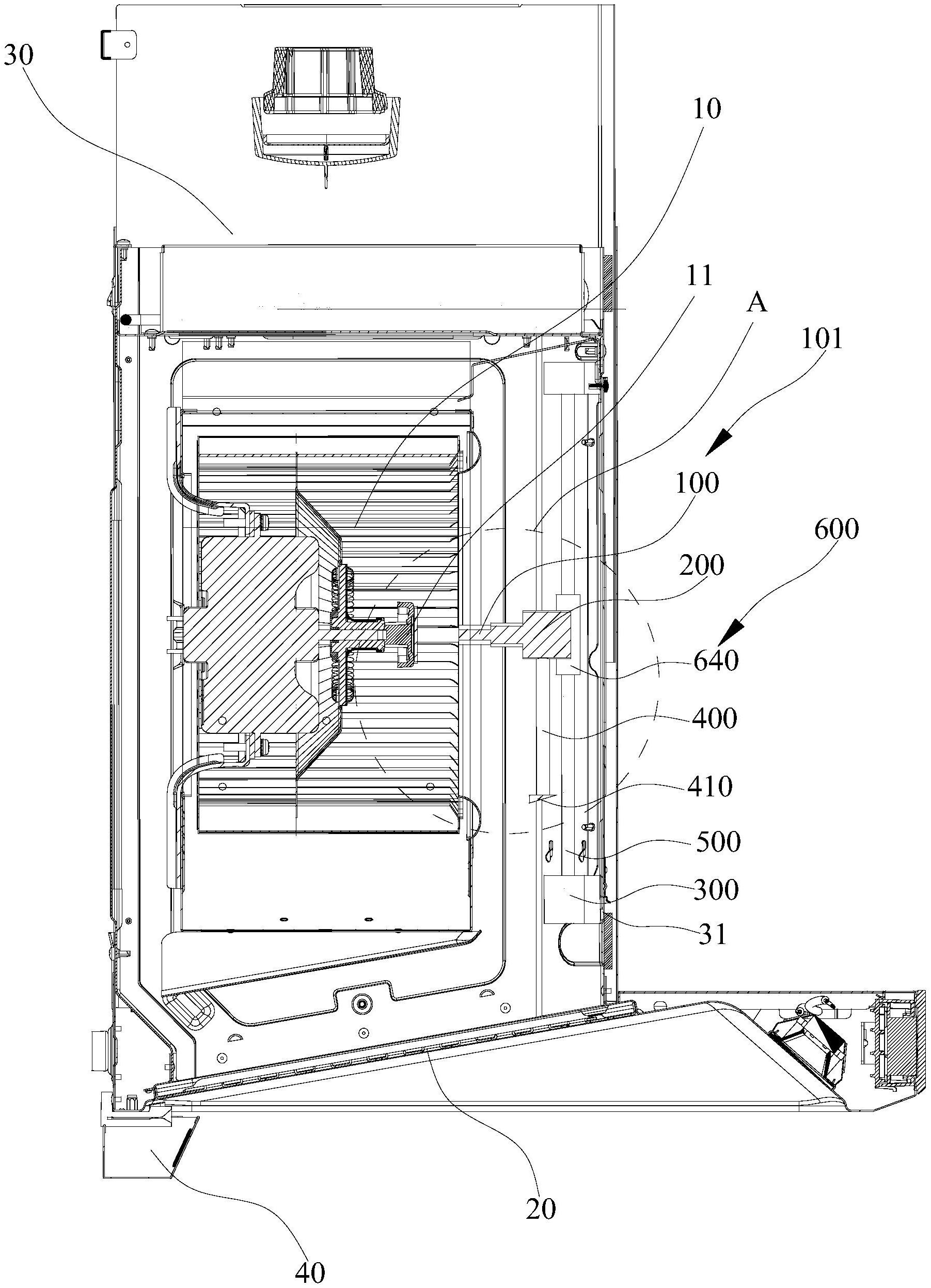
专利摘要:本发明公开了一种油网结构,包括导流板,导流板上设置有自左右两侧向中间方向、向上凸出的滤油网部,滤油网部由前至后间隔排布有若干进风孔,进风孔呈长条形,沿滤油网部的左右方向径向延伸。本发明通过在导流板上设置左右两侧向中间方向、向上凸出的滤油网部,尤其是导流板的左右两侧分别设置滤油网部并凸出于集烟罩内部,将集烟腔中间的负压区均匀地移到油烟机的两侧,吸收油烟时拢烟、吸烟效果好,防止油烟机两侧的油烟逃逸,提高了集烟腔的拢烟性能,以提升用户体验。本发明还介绍了一种应用上述油网结构的油烟机。
今年以来海尔智家新获得专利授权3257个,较去年同期减少了17.17%。结合公司2024年年报财务数据,2024年公司在研发方面投入了107.4亿元,同比增3.47%。
通过天眼查大数据分析,海尔智家股份有限公司共对外投资了58家企业,参与招投标项目1712次;财产线索方面有商标信息357条,专利信息63610条,著作权信息53条;此外企业还拥有行政许可10个。
数据来源:天眼查APP
以上内容为证券之星据公开信息整理,由AI算法生成(网信算备310104345710301240019号),不构成投资建议。
