格力电器获得实用新型专利授权:“一种面壳组件及衣物处理设备”
作者:小微
发表于:2026年01月24日
浏览量:72057

图片来源于网络,如有侵权,请联系删除
证券之星消息,根据天眼查APP数据显示格力电器(000651)新获得一项实用新型专利授权,专利名为“一种面壳组件及衣物处理设备”,专利申请号为CN202520174431.3,授权日为2026年1月23日。
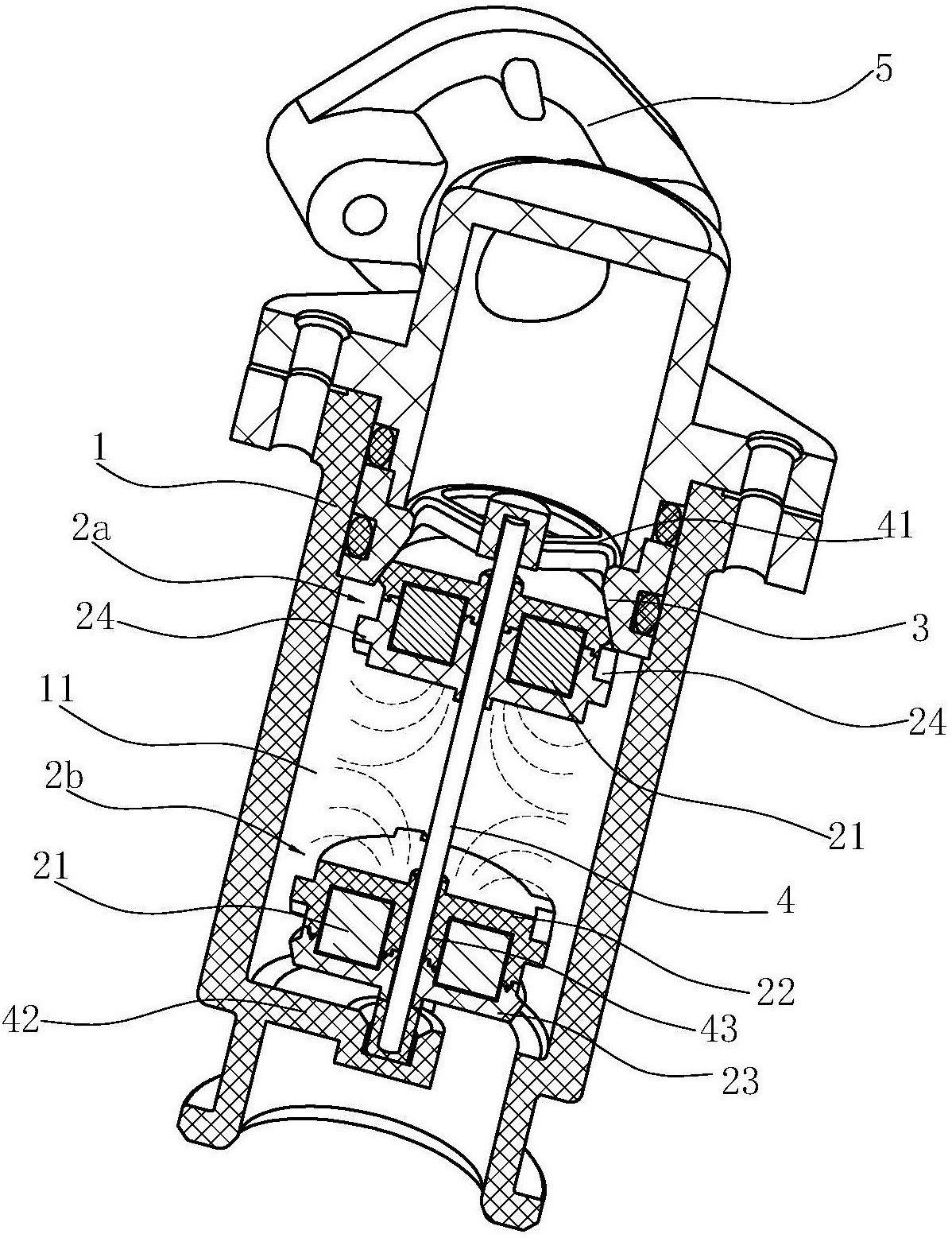
专利摘要:本实用新型涉及衣物处理设备技术领域中一种面壳组件及衣物处理设备,面壳组件包括:面壳本体以及用于连接面壳本体和衣物处理设备箱体的连接组件,面壳本体的中部位置设置有锁舌,连接组件上设置有与锁舌相对的锁槽,面壳本体与连接组件在连接状态下:锁舌固定在锁槽内;通过在面壳本体的中部位置设置锁舌,锁舌与对应的连接组件的锁槽固定连接,实现面壳本体中部位置与连接组件之间建立连接点位,可以有效防止面壳本体上易于受力弯曲的中部位置形变,由此使得面壳组件整体强度和稳定性得到提升,同时防止面壳组件因受力形变而影响衣物处理设备箱体部分。

图片来源于网络,如有侵权,请联系删除
今年以来格力电器新获得专利授权590个,较去年同期增加了76.12%。结合公司2025年中报财务数据,2025上半年公司在研发方面投入了39.18亿元,同比增10.92%。
通过天眼查大数据分析,珠海格力电器股份有限公司共对外投资了98家企业,参与招投标项目34388次;财产线索方面有商标信息8212条,专利信息120845条,著作权信息299条;此外企业还拥有行政许可908个。
数据来源:天眼查APP
以上内容为证券之星据公开信息整理,由AI算法生成(网信算备310104345710301240019号),不构成投资建议。
