公元股份获得实用新型专利授权:“一种可调节的船用带耳弯头”
作者:小微
发表于:2026年01月27日
浏览量:62655

图片来源于网络,如有侵权,请联系删除
证券之星消息,根据天眼查APP数据显示公元股份(002641)新获得一项实用新型专利授权,专利名为“一种可调节的船用带耳弯头”,专利申请号为CN202520795182.X,授权日为2026年1月27日。
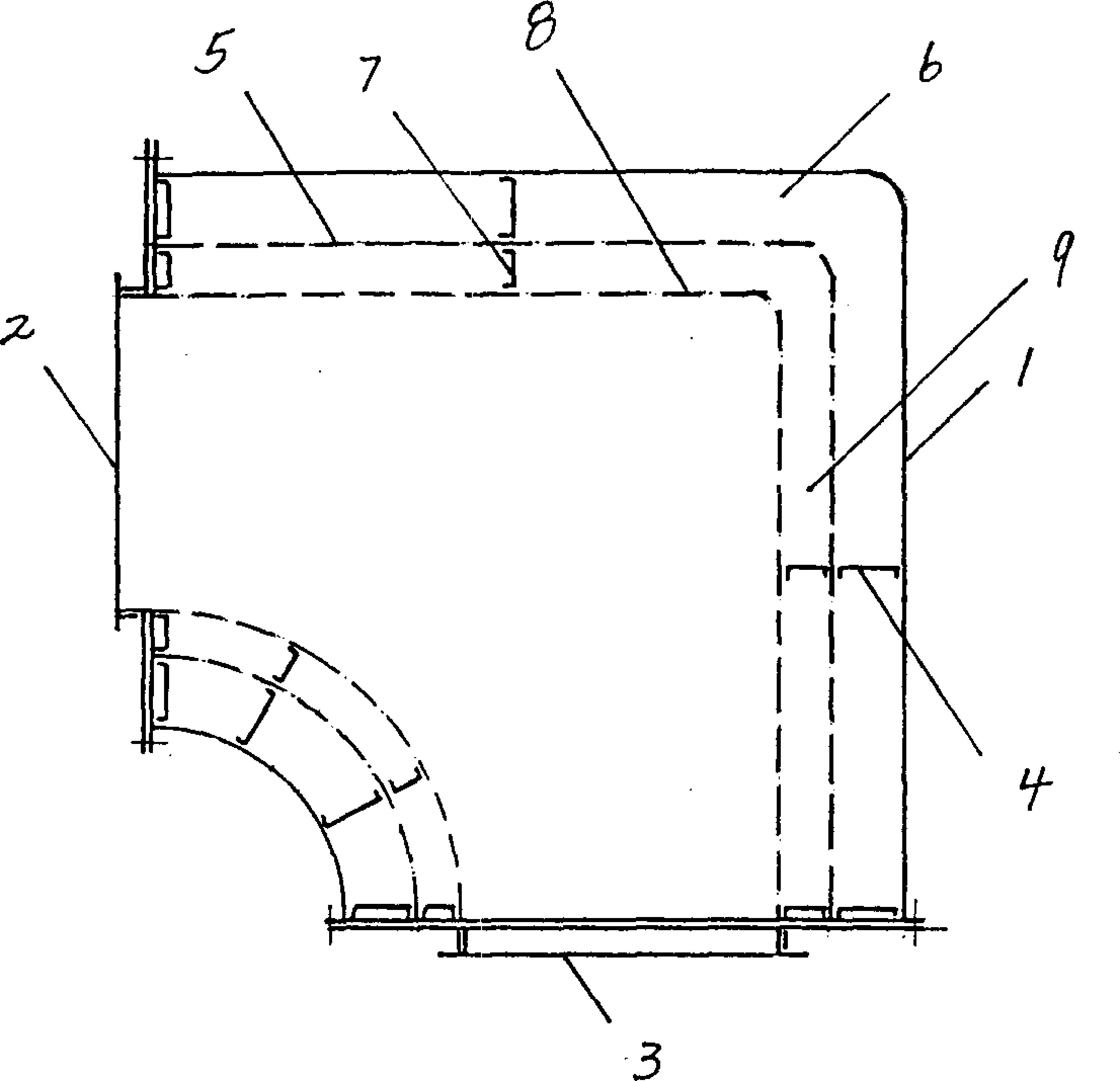
专利摘要:本实用新型提供了一种可调节的船用带耳弯头,属于管道技术领域。它解决了如何提高弯头的适用性的问题。本可调节的船用带耳弯头包括本体与板面上开设有至少两个定位孔的耳板,所述耳板与所述本体可拆卸连接,且所述耳板能够沿所述本体周向转动,两个所述定位孔均为条形孔,且两个所述定位孔长度方向相交叉。本可调节的船用带耳弯头能够确保自身的适用性更高。

图片来源于网络,如有侵权,请联系删除
今年以来公元股份新获得专利授权4个,较去年同期增加了33.33%。结合公司2025年中报财务数据,2025上半年公司在研发方面投入了1.11亿元,同比减6.41%。

图片来源于网络,如有侵权,请联系删除
通过天眼查大数据分析,公元股份有限公司共对外投资了19家企业,参与招投标项目1878次;财产线索方面有商标信息246条,专利信息700条,著作权信息14条;此外企业还拥有行政许可122个。
数据来源:天眼查APP
以上内容为证券之星据公开信息整理,由AI算法生成(网信算备310104345710301240019号),不构成投资建议。
