浙江自然获得实用新型专利授权:“一种车载模块化箱体系统”
作者:小微
发表于:2026年02月06日
浏览量:70938

图片来源于网络,如有侵权,请联系删除
证券之星消息,根据天眼查APP数据显示浙江自然(605080)新获得一项实用新型专利授权,专利名为“一种车载模块化箱体系统”,专利申请号为CN202520509446.0,授权日为2026年2月6日。
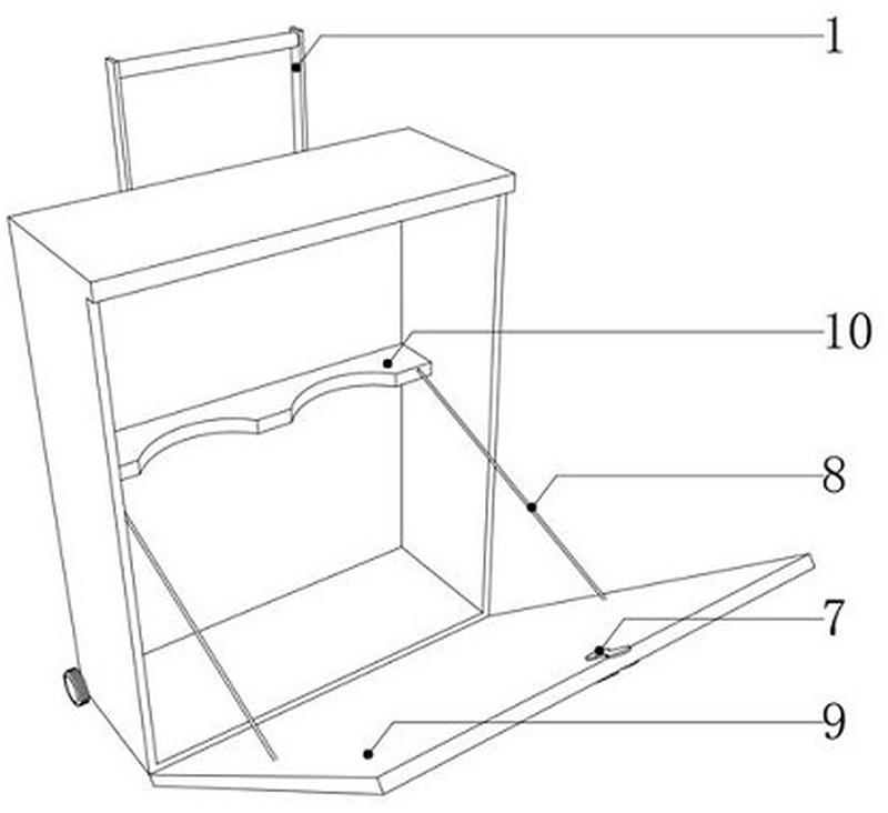
专利摘要:本申请公开了一种车载模块化箱体系统,包括母箱和子箱,母箱适配于汽车尾部,母箱包括至少两个抽屉,抽屉包括柜体、滑轨、承托架,滑轨同时连接柜体和承托架,使得承托架可以沿着柜体的开口方向运动;子箱与承托架通过固定装置可拆卸地连接,每个抽屉的至少可以安装一个子箱。本申请通过设置母箱和子箱,母箱可以放置或固定在车尾箱,母箱作为一个可封闭的大型柜体可以对内部存放的物件起到良好的保护作用,也保持了整体的美观性。子箱用于存放或组合物资器具、设施设备,用户可以根据需要对子箱模块进行搭配并固定到母箱,通过母箱和子箱的结合达到了按需组合、安全易用的效果。

图片来源于网络,如有侵权,请联系删除
今年以来浙江自然新获得专利授权10个,较去年同期增加了233.33%。结合公司2025年中报财务数据,2025上半年公司在研发方面投入了2129.56万元,同比增30.16%。
通过天眼查大数据分析,浙江大自然户外用品股份有限公司共对外投资了6家企业,参与招投标项目40次;财产线索方面有商标信息61条,专利信息362条;此外企业还拥有行政许可39个。
数据来源:天眼查APP
以上内容为证券之星据公开信息整理,由AI算法生成(网信算备310104345710301240019号),不构成投资建议。
