格力电器获得发明专利授权:“一种压缩机的电机组件及涡旋压缩机”
作者:小微
发表于:2026年02月07日
浏览量:57726

图片来源于网络,如有侵权,请联系删除
证券之星消息,根据天眼查APP数据显示格力电器(000651)新获得一项发明专利授权,专利名为“一种压缩机的电机组件及涡旋压缩机”,专利申请号为CN202410841339.8,授权日为2026年2月6日。
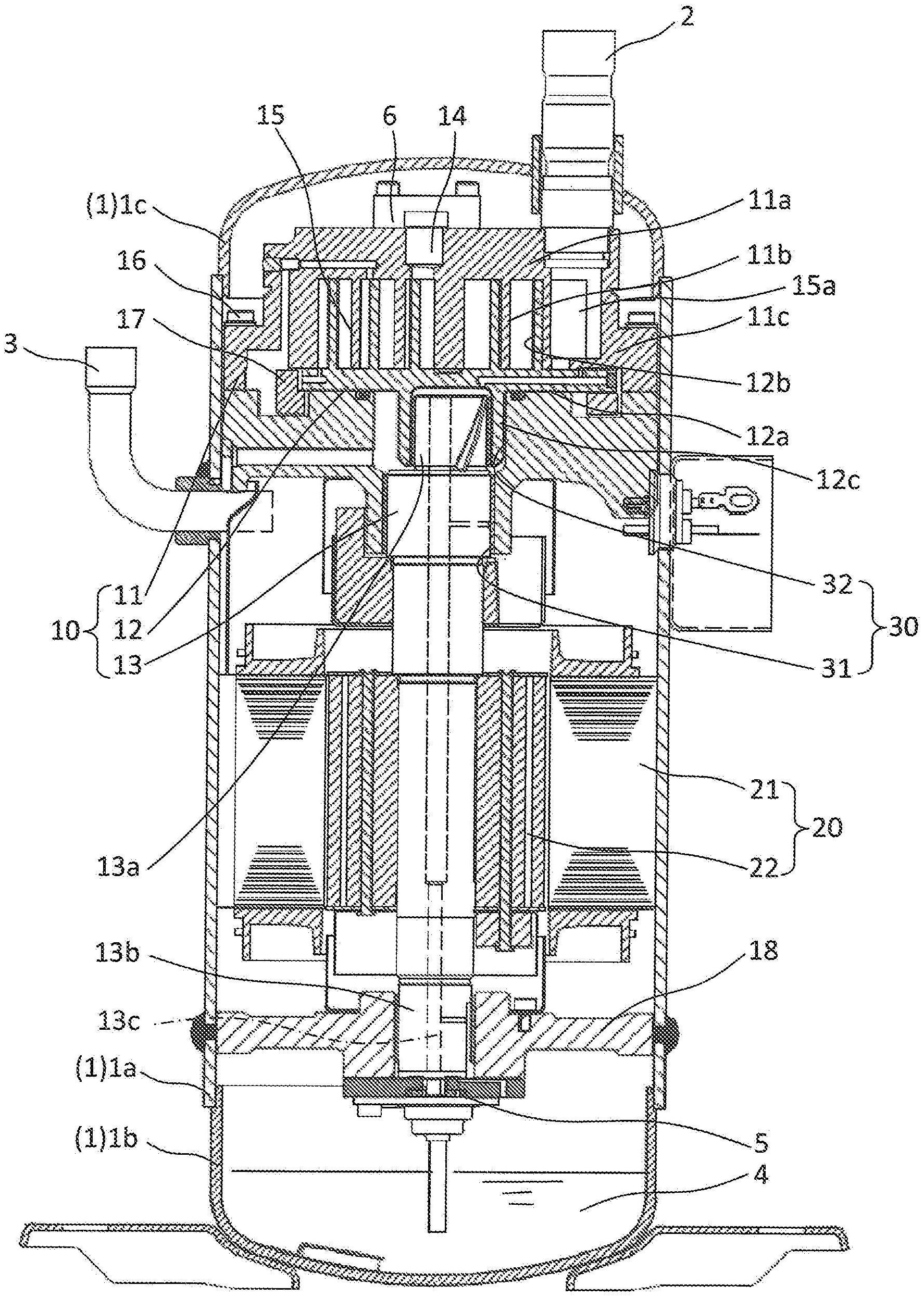
专利摘要:本发明提供一种压缩机的电机组件及涡旋压缩机,压缩机的电机组件,包括曲轴、第一平衡块、转子以及分油组件;曲轴穿设转子,曲轴上设置有第一平衡块;分油组件包括第一挡油件和第二挡油件,第二挡油件设置在第一平衡块上,第二挡油件与第一挡油件相对设置;压缩机内的气流包括第一气流和第二气流,第二挡油件用于对流经第二挡油件的第一气流进行油气分离,第一挡油件用于对流经第一挡油件的第二气流进行第一次油气分离;其中,第一次油气分离后的部分气流与第一气流汇合后流经第二挡油件。本发明充分实现多次循环分油,降低冷媒排出时的含油率,以解决压缩机高频运转含油率高和回油慢,导致的压缩机缺油问题。

图片来源于网络,如有侵权,请联系删除
今年以来格力电器新获得专利授权1135个,较去年同期增加了140.47%。结合公司2025年中报财务数据,2025上半年公司在研发方面投入了39.18亿元,同比增10.92%。
通过天眼查大数据分析,珠海格力电器股份有限公司共对外投资了98家企业,参与招投标项目34482次;财产线索方面有商标信息8218条,专利信息121276条,著作权信息300条;此外企业还拥有行政许可908个。
数据来源:天眼查APP
以上内容为证券之星据公开信息整理,由AI算法生成(网信算备310104345710301240019号),不构成投资建议。
