先导智能公布国际专利申请:“顶盖焊接装置”
作者:小微
发表于:2026年02月07日
浏览量:64790

图片来源于网络,如有侵权,请联系删除
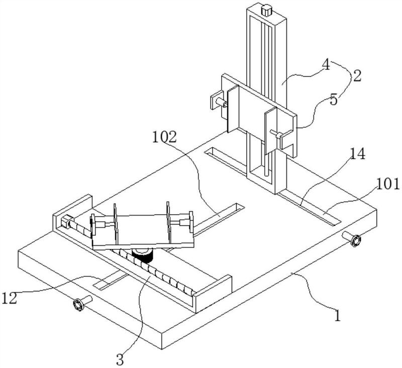
证券之星消息,根据企查查数据显示先导智能(300450)公布了一项国际专利申请,专利名为“顶盖焊接装置”,专利申请号为PCT/CN2025/100712,国际公布日为2026年2月5日。
专利详情如下:

图片来源于网络,如有侵权,请联系删除
图片来源:世界知识产权组织(WIPO)

图片来源于网络,如有侵权,请联系删除
今年以来先导智能已公布的国际专利申请6个,较去年同期增加了20%。结合公司2025年中报财务数据,2025上半年公司在研发方面投入了8.27亿元,同比减0.41%。
数据来源:企查查
以上内容为证券之星据公开信息整理,由AI算法生成(网信算备310104345710301240019号),不构成投资建议。
