永艺股份获得实用新型专利授权:“一种实现同步锁定的机构及运动装置”
作者:小微
发表于:2026年02月10日
浏览量:72308

图片来源于网络,如有侵权,请联系删除
证券之星消息,根据天眼查APP数据显示永艺股份(603600)新获得一项实用新型专利授权,专利名为“一种实现同步锁定的机构及运动装置”,专利申请号为CN202520373173.1,授权日为2026年2月10日。
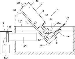
专利摘要:本实用新型提供了一种实现同步锁定的机构及运动装置,该机构包括驱动件、安装座以及至少两个锁定件。安装座上可活动设置至少两个运动件,驱动件同样可动设于安装座,且与各锁定件传动连接,锁定件分别紧邻运动件。当驱动件相对安装座运动时,能带动所有锁定件同步朝运动件运动,从而同步锁定全部运动件;反之,驱动件反向运动,锁定件同步远离运动件,实现同步解锁。此机构因运动件数量多,运动更为复杂,却通过独特设计,用驱动件巧妙实现多个锁定件协同工作;一种运动装置,通过其部件以及上述机构构成了一种双四连杆机构的运动装置,上述的锁定机构应用于一种复杂的双四连杆机构中,能够一次性且快速地将运动装置整体锁止。
今年以来永艺股份新获得专利授权20个,较去年同期减少了28.57%。结合公司2025年中报财务数据,2025上半年公司在研发方面投入了8119.36万元,同比增17.57%。
通过天眼查大数据分析,永艺家具股份有限公司共对外投资了34家企业,参与招投标项目110次;财产线索方面有商标信息514条,专利信息1901条,著作权信息47条;此外企业还拥有行政许可18个。
数据来源:天眼查APP
以上内容为证券之星据公开信息整理,由AI算法生成(网信算备310104345710301240019号),不构成投资建议。
