爱柯迪获得发明专利授权:“基于焊前铆压的芯片模组壳体的制备方法及铆压设备”
作者:小微
发表于:2026年02月18日
浏览量:61008

图片来源于网络,如有侵权,请联系删除
证券之星消息,根据天眼查APP数据显示爱柯迪(600933)新获得一项发明专利授权,专利名为“基于焊前铆压的芯片模组壳体的制备方法及铆压设备”,专利申请号为CN202511618039.4,授权日为2026年2月17日。
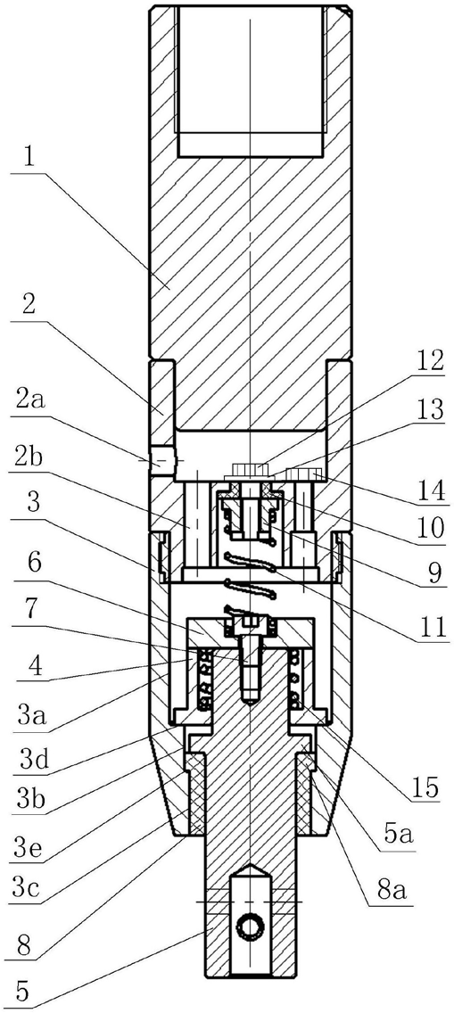
专利摘要:本发明公开了一种基于焊前铆压的芯片模组壳体的制备方法及铆压设备,加工步骤包括:将支撑中子插入到本体内;中子压持件侧向顶持支撑中子;启动铆压机,上压板和下压板内部的铆针对两盖板和本体进行正反两面对向铆接,铆接位置绕焊道位置内侧设置,下盖板、本体和上盖板结合形成壳体预制件;取下铆压后带支撑中子的壳体预制件,并移除支撑中子;对壳体预制件绕焊道进行摩擦焊;对摩擦焊后的壳体预制件进行表面机加工,从而制备芯片模组壳体;先铆后焊,支撑中子承受了铆压力,解决了薄壁壳体在受到对向铆压力时容易塌陷或变形的问题。

图片来源于网络,如有侵权,请联系删除
今年以来爱柯迪新获得专利授权4个。结合公司2025年中报财务数据,2025上半年公司在研发方面投入了1.7亿元,同比减2.48%。
通过天眼查大数据分析,爱柯迪股份有限公司共对外投资了20家企业,参与招投标项目9次;财产线索方面有商标信息47条,专利信息170条,著作权信息9条;此外企业还拥有行政许可22个。
数据来源:天眼查APP
以上内容为证券之星据公开信息整理,由AI算法生成(网信算备310104345710301240019号),不构成投资建议。
