四方科技获得实用新型专利授权:“托盘转运装置”
作者:小微
发表于:2026年03月03日
浏览量:62600

图片来源于网络,如有侵权,请联系删除
证券之星消息,根据天眼查APP数据显示四方科技(603339)新获得一项实用新型专利授权,专利名为“托盘转运装置”,专利申请号为CN202520667286.2,授权日为2026年3月3日。
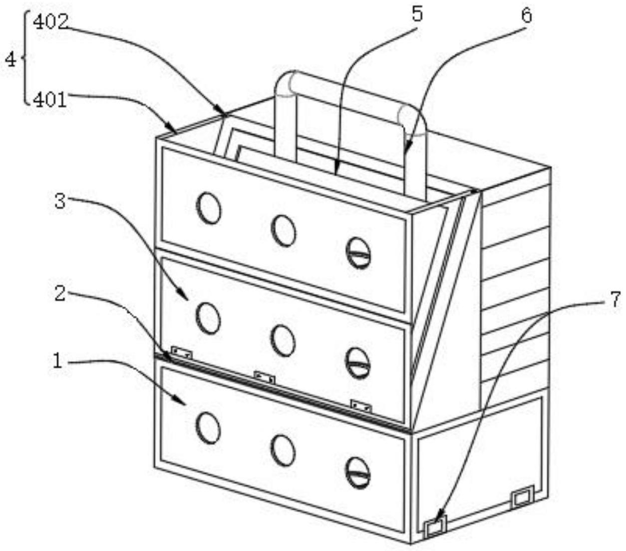
专利摘要:本实用新型涉及一种托盘转运装置,包括托盘架,所述托盘架顶部设有盖板,所述托盘架上设有叉齿取放部,所述托盘架内部设有至少一个容纳槽,所述容纳槽内设有蓄冷盒,所述托盘架的侧面开设有供所述蓄冷盒进出所述容纳槽的第一开口。本实用新型可以根据不同的项目,自行组合蓄冷盒的数量,满足不同温度的使用需求,同时也能够根据待转运物品的尺寸来决定蓄冷盒的使用数量和存放位置,避免蓄冷材料的浪费,亦或实现分区控温,且在拆装蓄冷盒4的时候无需将放置在盖板2上的待转运物品取下,能够进一步提高整体的使用便捷性和可靠性。

图片来源于网络,如有侵权,请联系删除
今年以来四方科技新获得专利授权4个,较去年同期增加了33.33%。结合公司2025年中报财务数据,2025上半年公司在研发方面投入了4119.28万元,同比减10.97%。

图片来源于网络,如有侵权,请联系删除
通过天眼查大数据分析,四方科技集团股份有限公司共对外投资了6家企业,参与招投标项目81次;财产线索方面有商标信息50条,专利信息434条,著作权信息5条;此外企业还拥有行政许可17个。
数据来源:天眼查APP
以上内容为证券之星据公开信息整理,由AI算法生成(网信算备310104345710301240019号),不构成投资建议。
