龙泉股份获得实用新型专利授权:“管材标识自动喷涂装置”
作者:小微
发表于:2026年03月06日
浏览量:51939

图片来源于网络,如有侵权,请联系删除
证券之星消息,根据天眼查APP数据显示龙泉股份(002671)新获得一项实用新型专利授权,专利名为“管材标识自动喷涂装置”,专利申请号为CN202520531231.9,授权日为2026年3月6日。
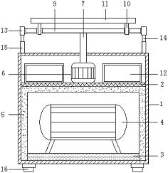
专利摘要:本实用新型属于管道喷涂技术领域,公开了管材标识自动喷涂装置,包括机架以及设于机架上喷涂组件,喷涂组件包括:字板,字板设于机架上;第一气缸,第一气缸设于机架上;喷枪,喷枪设于第一气缸的活塞杆上,且喷枪设于字板的背面;油漆罐,油漆罐通过管道与喷枪连通;送料单元,送料单元用于为喷枪送料;送料单元包括电磁铁、永磁体和活塞,活塞滑动设于油漆罐内,永磁体设于活塞内,电磁铁设于油漆罐内,电磁铁得电与永磁体互斥;本方案通过第一气缸驱动喷枪沿字板移动,从而使喷枪喷出的油漆通过字板上的镂空区域喷到管材表面上,实现管材标识的自动喷涂;本实用新型解决了对管材外壁自动喷涂标识的问题。

图片来源于网络,如有侵权,请联系删除
今年以来龙泉股份新获得专利授权2个。结合公司2025年中报财务数据,2025上半年公司在研发方面投入了867.26万元,同比减2.53%。

图片来源于网络,如有侵权,请联系删除
通过天眼查大数据分析,山东龙泉管业股份有限公司共对外投资了22家企业,参与招投标项目356次;财产线索方面有商标信息17条,专利信息140条,著作权信息1条;此外企业还拥有行政许可9个。
数据来源:天眼查APP
以上内容为证券之星据公开信息整理,由AI算法生成(网信算备310104345710301240019号),不构成投资建议。
