天汽模获得实用新型专利授权:“一种带有出料结构的冲压模具”
作者:小微
发表于:2026年03月25日
浏览量:49309

图片来源于网络,如有侵权,请联系删除
证券之星消息,根据天眼查APP数据显示天汽模(002510)新获得一项实用新型专利授权,专利名为“一种带有出料结构的冲压模具”,专利申请号为CN202520535512.1,授权日为2026年3月24日。
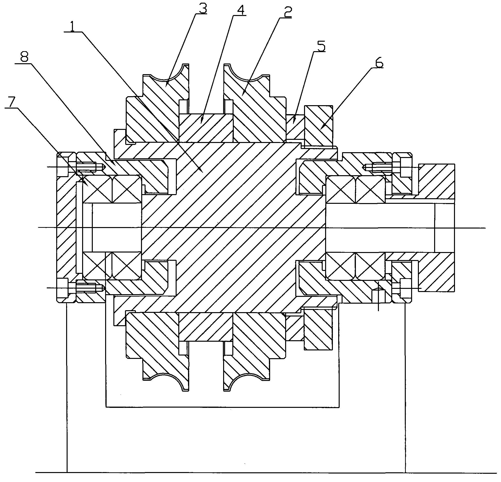
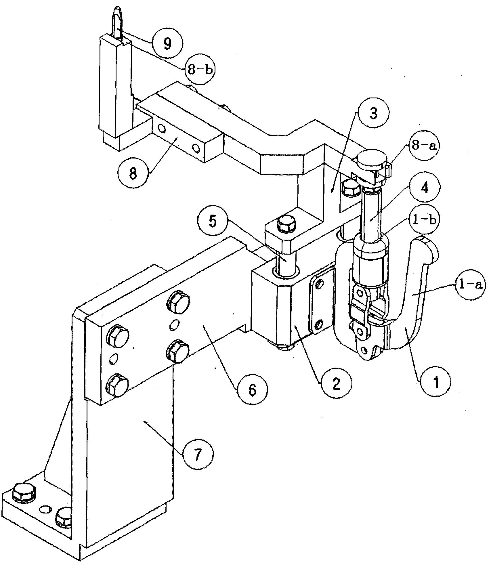
专利摘要:本实用新型公开了一种带有出料结构的冲压模具,涉及冲压模具技术领域,包括上模座和下模座,所述上模座的底部固定连接有凸模固定板,凸模固定板的顶部连接有凸模;所述下模座的顶部连接有凹模固定板,凹模固定板的顶部连接有凹模,且凸模与凹模相适配;所述下模座的顶部连接有模具推出组件,模具推出组件用于在冲压完成后,将位于凹模内的冲压模具推出凹模。本实用新型通过设置模具推出组件和自适应调节组件,实现了能够根据冲压件的不同形状和尺寸,灵活调整出料板与冲压件接触状态的效果,可以解决因频繁更换出料结构以适配不同冲压模具而导致的生产成本增加和生产周期延长的问题。

图片来源于网络,如有侵权,请联系删除
今年以来天汽模新获得专利授权9个。结合公司2025年中报财务数据,2025上半年公司在研发方面投入了5382.74万元,同比增7.35%。

图片来源于网络,如有侵权,请联系删除
通过天眼查大数据分析,天津汽车模具股份有限公司共对外投资了33家企业,参与招投标项目240次;财产线索方面有商标信息4条,专利信息318条,著作权信息12条;此外企业还拥有行政许可88个。
数据来源:天眼查APP
以上内容为证券之星据公开信息整理,由AI算法生成(网信算备310104345710301240019号),不构成投资建议。
