福田汽车获得发明专利授权:“燃料电池车辆的高压电气系统、上电控制方法和车辆”
作者:小微
发表于:2025年05月03日
浏览量:49605

图片来源于网络,如有侵权,请联系删除
证券之星消息,根据天眼查APP数据显示福田汽车(600166)新获得一项发明专利授权,专利名为“燃料电池车辆的高压电气系统、上电控制方法和车辆”,专利申请号为CN202210557902.X,授权日为2025年5月2日。
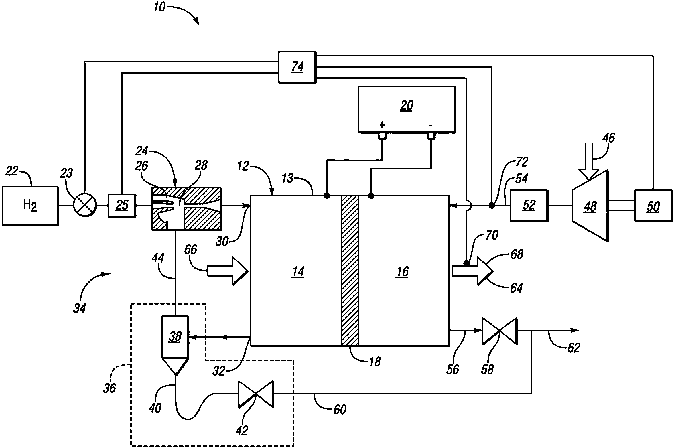
专利摘要:本申请公开了一种燃料电池车辆的高压电气系统、上电控制方法和车辆,其中,燃料电池车辆的高压电气系统包括:动力电池配电盒,包括:预充控制模块,第一主正继电器和主负继电器;燃料电池DC/DC变换器,包括:升压电路和第二主正继电器,所述升压电路的正极通过所述第二主正继电器与所述动力电池配电盒的正极侧相连,所述升压电路的负极与所述动力电池配电盒的负极侧相连。本申请的燃料电池车辆的高压电气系统具有结构简单、部件少的优点,从而可以减少占用体积,降低车辆冗余,提升了车辆的可靠性。

图片来源于网络,如有侵权,请联系删除
今年以来福田汽车新获得专利授权77个,较去年同期增加了113.89%。结合公司2024年年报财务数据,2024年公司在研发方面投入了19亿元,同比减8.68%。
数据来源:天眼查APP
以上内容为证券之星据公开信息整理,由AI算法生成(网信算备310104345710301240019号),不构成投资建议。
