江南奕帆获得实用新型专利授权:“一种手电动操作机构”
作者:小微
发表于:2025年06月24日
浏览量:70429

图片来源于网络,如有侵权,请联系删除
证券之星消息,根据天眼查APP数据显示江南奕帆(301023)新获得一项实用新型专利授权,专利名为“一种手电动操作机构”,专利申请号为CN202422415325.8,授权日为2025年6月24日。
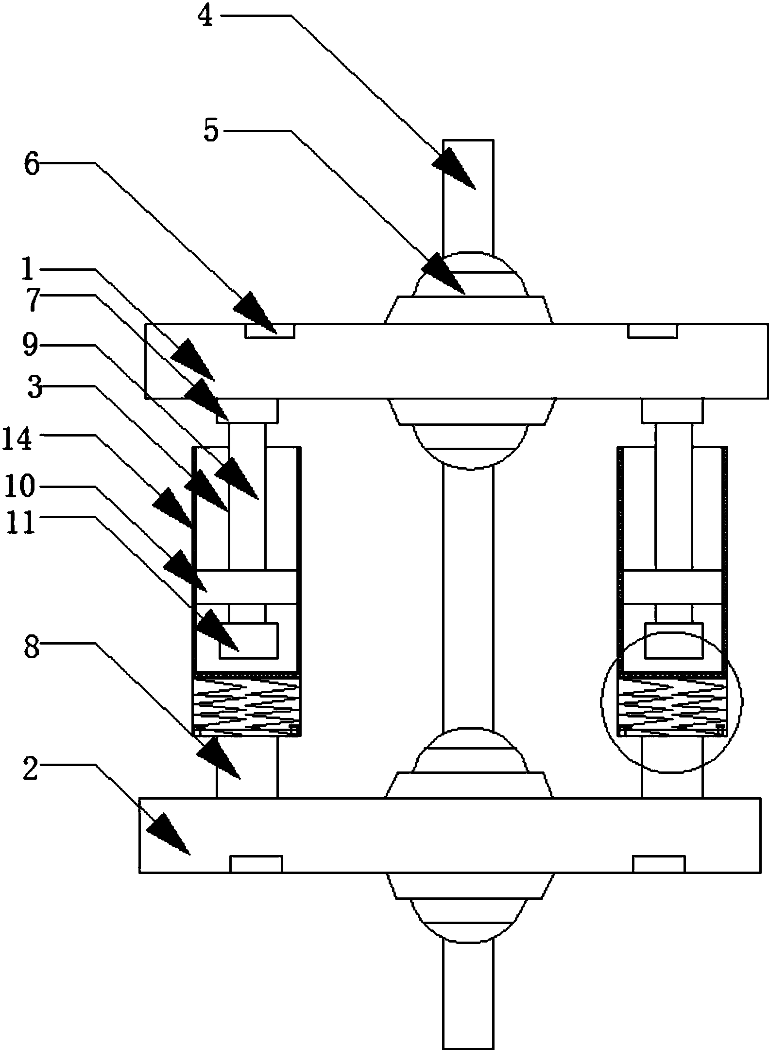
专利摘要:本实用新型涉及减速箱的技术领域,更具体地,涉及一种手电动操作机构,包括输出轴、传动齿轮、电动驱动组件、手动驱动组件以及切换组件,输出轴的周面上沿其轴向设置有第一连接部;传动齿轮具有第一安装孔,第一安装孔的内壁面上沿其轴向设置有第二连接部,第一安装孔套设在输出轴上,第二连接部与第一连接部滑动连接,且传动齿轮与输出轴同步转动;电动驱动组件的输出端安装有第一齿轮;手动驱动组件的输出端安装有第二齿轮;切换组件用于驱动传动齿轮沿输出轴轴向运动以与第一齿轮或第二齿轮啮合。通过切换组件推动传动齿轮滑动以分别与第一齿轮、第二齿轮啮合,从而可以实现手电动操作的切换,相对于现有技术来说,本技术方案结构更简单,成本更低。

图片来源于网络,如有侵权,请联系删除
今年以来江南奕帆新获得专利授权4个,较去年同期增加了100%。结合公司2024年年报财务数据,2024年公司在研发方面投入了1319.81万元,同比增42.39%。

图片来源于网络,如有侵权,请联系删除
通过天眼查大数据分析,无锡江南奕帆电力传动科技股份有限公司共对外投资了8家企业,参与招投标项目23次;财产线索方面有商标信息59条,专利信息153条,著作权信息1条;此外企业还拥有行政许可26个。
数据来源:天眼查APP
以上内容为证券之星据公开信息整理,由AI算法生成(网信算备310104345710301240019号),不构成投资建议。
