华宝新能获得实用新型专利授权:“一种散热器、散热组件和功率优化装置”
作者:小微
发表于:2025年06月27日
浏览量:58239

图片来源于网络,如有侵权,请联系删除
证券之星消息,根据天眼查APP数据显示华宝新能(301327)新获得一项实用新型专利授权,专利名为“一种散热器、散热组件和功率优化装置”,专利申请号为CN202421651336.X,授权日为2025年6月27日。
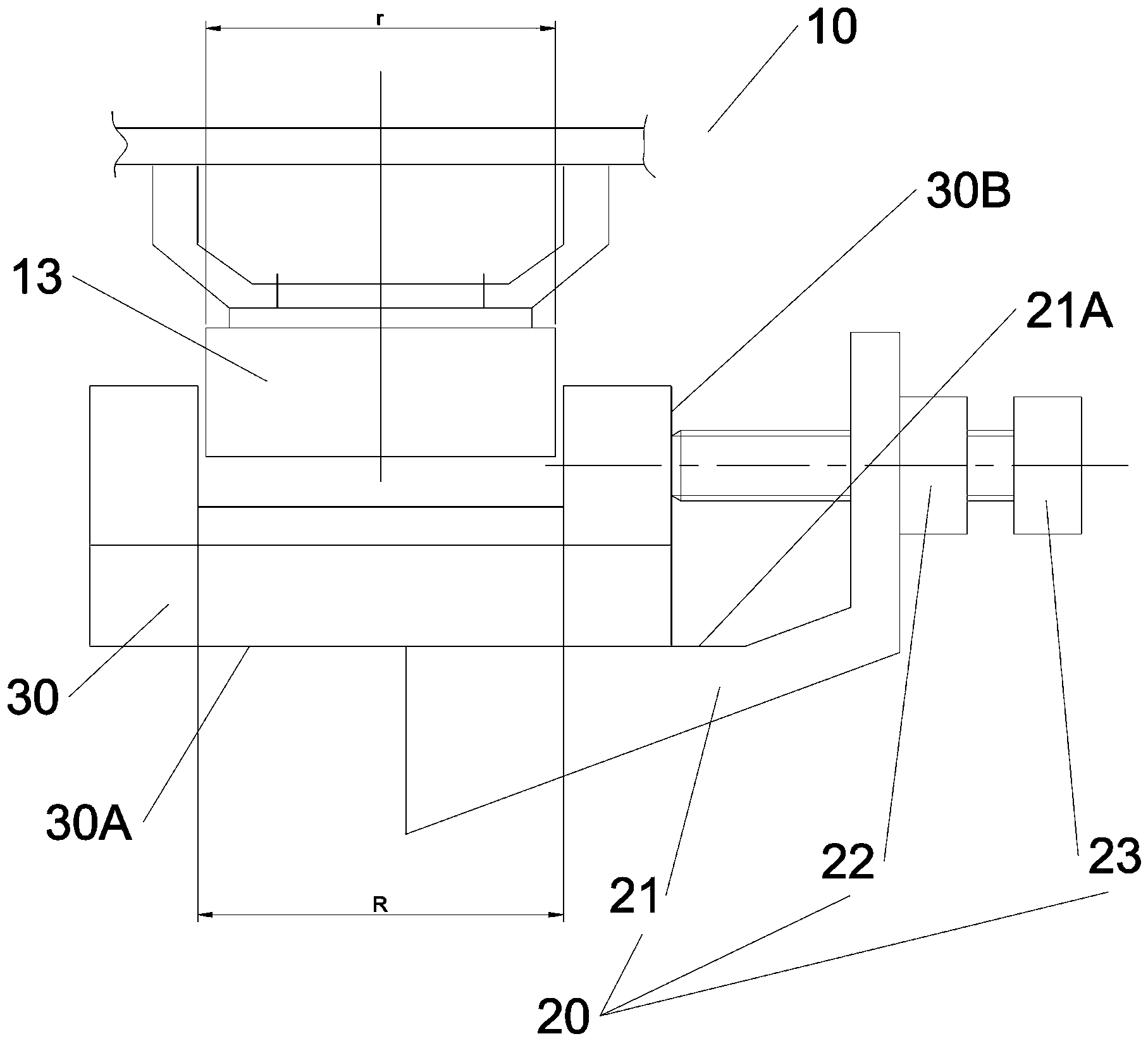
专利摘要:本实用新型属于储能设备技术领域,公开一种散热器、散热组件和功率优化装置,散热器安装于功率优化模块,功率优化模块包括MOS管和高度大于MOS管的功能元器件,散热器包括:散热基板,设有第一侧面和第二侧面,第一侧面设有散热风机,MOS管与第二侧面导热连接;若干散热翅片,设于第一侧面,且若干散热翅片沿径向布置,散热翅片形成凹部,散热风机设置于凹部;散热沉孔,成型于第二侧面,散热沉孔用于避让功能元器件。本实用新型提供的散热器通过散热沉孔避让高度大于MOS管的功能元器件,降低MOS管与散热基板之间的热阻,提高MOS管向散热器导热的效率,优化散热效果。
今年以来华宝新能新获得专利授权129个,较去年同期减少了27.53%。结合公司2024年年报财务数据,2024年公司在研发方面投入了1.73亿元,同比增14.31%。
通过天眼查大数据分析,深圳市华宝新能源股份有限公司共对外投资了2家企业,参与招投标项目10次;财产线索方面有商标信息248条,专利信息1256条,著作权信息71条;此外企业还拥有行政许可35个。
数据来源:天眼查APP
以上内容为证券之星据公开信息整理,由AI算法生成(网信算备310104345710301240019号),不构成投资建议。
