鼎信通讯获得实用新型专利授权:“一种用于模具快速上模的装置”
作者:小微
发表于:2025年06月27日
浏览量:59338

图片来源于网络,如有侵权,请联系删除
证券之星消息,根据天眼查APP数据显示鼎信通讯(603421)新获得一项实用新型专利授权,专利名为“一种用于模具快速上模的装置”,专利申请号为CN202421445665.9,授权日为2025年6月27日。
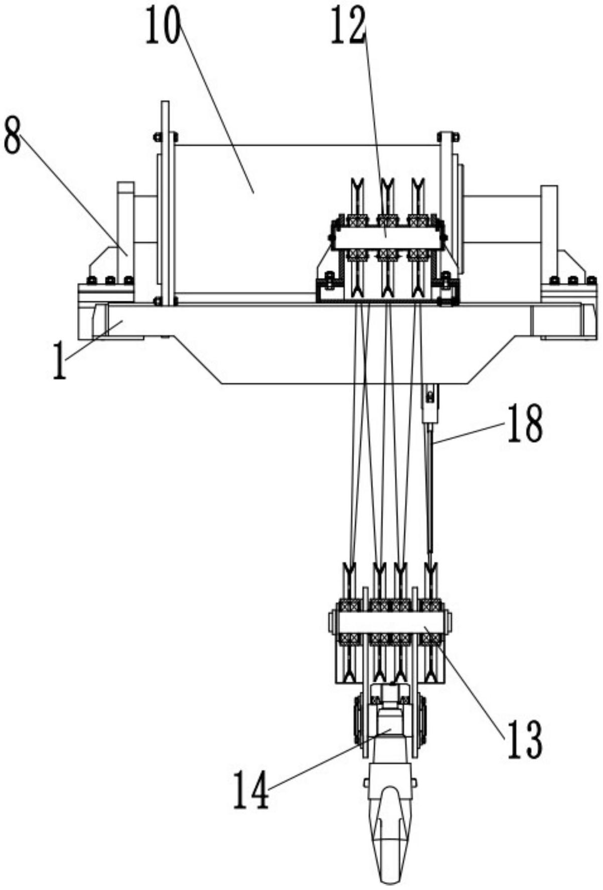
专利摘要:本实用新型公开了一种上模装置,特别涉及一种用于模具快速上模的装置,包括第一支撑板、第二支撑板、导向柱、锁紧块和固定装置,所述导向柱一端与第一支撑板连接,另一端与第二支撑板连接。本实用新型针对现有技术的不足,利用支撑板上的定位块和支撑块来定位和支撑模具,快速定位模具位置,提供了一种结构简单,使用方便,通用性强,能准确快速定位模具的位置的快速上模装置,有效缓解了上模过程中定位难、效率低的问题。

图片来源于网络,如有侵权,请联系删除
今年以来鼎信通讯新获得专利授权23个,较去年同期减少了57.41%。结合公司2024年年报财务数据,2024年公司在研发方面投入了5.09亿元,同比减14.22%。

图片来源于网络,如有侵权,请联系删除
通过天眼查大数据分析,青岛鼎信通讯股份有限公司共对外投资了10家企业,参与招投标项目2613次;财产线索方面有商标信息59条,专利信息1290条,著作权信息440条;此外企业还拥有行政许可908个。
数据来源:天眼查APP
以上内容为证券之星据公开信息整理,由AI算法生成(网信算备310104345710301240019号),不构成投资建议。
