格力博获得发明专利授权:“电池包释放结构”
作者:小微
发表于:2025年06月28日
浏览量:62123

图片来源于网络,如有侵权,请联系删除
证券之星消息,根据天眼查APP数据显示格力博(301260)新获得一项发明专利授权,专利名为“电池包释放结构”,专利申请号为CN202010876936.6,授权日为2025年6月27日。
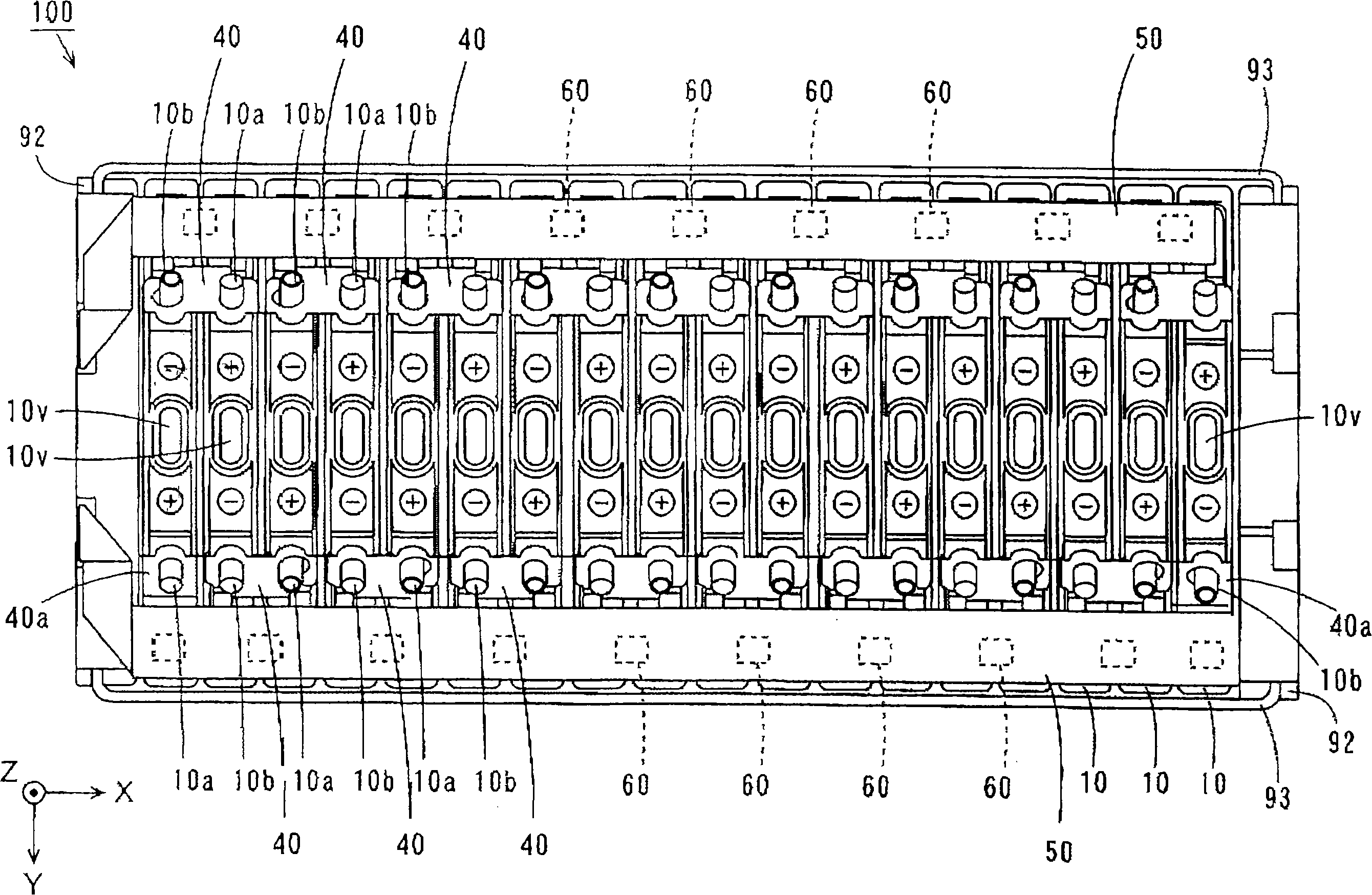
专利摘要:本发明提供了一种电池包释放结构,包括开设有电池包安装腔的电池包座、插入电池包安装腔内的电池包以及与电池包座相连的释放按钮和释放旋钮,所述释放旋钮具有三种工作状态:锁定状态、释放状态及自由状态,所述释放旋钮包括突伸入所述电池包安装腔内的锁止栓,锁定状态下,所述锁止栓与电池包上的限位结构配合固定,所述锁止栓与释放旋钮纵向轴线的夹角为第一夹角;释放状态下,所述锁止栓脱离所述限位结构,所述锁止栓与释放旋钮纵向轴线的夹角为第二夹角;自由状态下,电池包脱离电池包安装腔,所述锁止栓与释放旋钮纵向轴线的夹角为第三夹角;所述第三夹角大于第一夹角,所述第一夹角大于第二夹角。
今年以来格力博新获得专利授权61个,较去年同期减少了61.39%。结合公司2024年年报财务数据,2024年公司在研发方面投入了2.18亿元,同比减2.03%。
通过天眼查大数据分析,格力博(江苏)股份有限公司共对外投资了8家企业,参与招投标项目49次;财产线索方面有商标信息473条,专利信息2552条,著作权信息7条;此外企业还拥有行政许可26个。
数据来源:天眼查APP
以上内容为证券之星据公开信息整理,由AI算法生成(网信算备310104345710301240019号),不构成投资建议。
