矽电股份获得实用新型专利授权:“晶圆扩膜后的中转装置”
作者:小微
发表于:2025年07月01日
浏览量:62638

图片来源于网络,如有侵权,请联系删除
证券之星消息,根据天眼查APP数据显示矽电股份(301629)新获得一项实用新型专利授权,专利名为“晶圆扩膜后的中转装置”,专利申请号为CN202421692419.3,授权日为2025年7月1日。
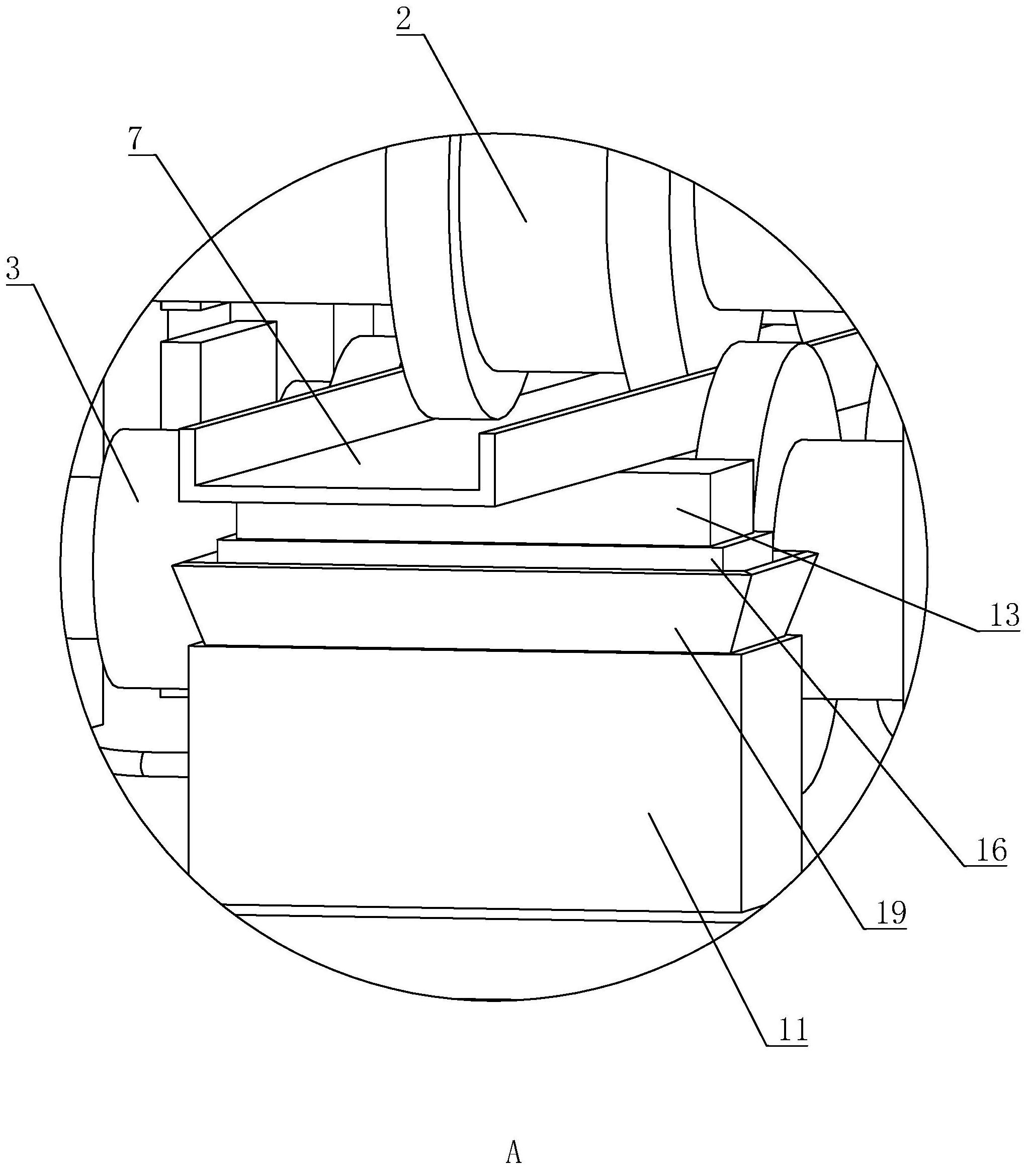
专利摘要:本实用新型公开了一种晶圆扩膜后的中转装置,涉及半导体生产运输技术领域,其中,包括基座、支撑部件、夹取部件和驱动部件;支撑部件的数量为两个,两个支撑部件均滑动安装于基座;夹取部件用于将扩膜后的晶圆夹取至两个支撑部件上;驱动部件包括主动轮、从动轮、同步带和驱动子部件,驱动子部件安装于基座,主动轮套设于驱动子部件的输出轴,从动轮转动安装于基座,主动轮和从动轮通过同步带传动连接,同步带包括相对设置的第一连接段和第二连接段,一支撑部件与第一连接段连接,另一支撑部件与第二连接段连接。每一次支撑部件上都只存在一个晶圆,机械手就只会夹取该晶圆,就不会出现机械手与其余晶圆发生碰撞的可能。

图片来源于网络,如有侵权,请联系删除
今年以来矽电股份新获得专利授权30个。结合公司2024年年报财务数据,2024年公司在研发方面投入了6810万元,同比增15.88%。
通过天眼查大数据分析,矽电半导体设备(深圳)股份有限公司共对外投资了5家企业,参与招投标项目77次;财产线索方面有商标信息46条,专利信息413条,著作权信息26条;此外企业还拥有行政许可15个。
数据来源:天眼查APP
以上内容为证券之星据公开信息整理,由AI算法生成(网信算备310104345710301240019号),不构成投资建议。
