格力电器获得实用新型专利授权:“用于承载冷凝散热装置的V型框架、V型冷凝散热装置和组合体”
作者:小微
发表于:2025年07月12日
浏览量:74203

图片来源于网络,如有侵权,请联系删除
证券之星消息,根据天眼查APP数据显示格力电器(000651)新获得一项实用新型专利授权,专利名为“用于承载冷凝散热装置的V型框架、V型冷凝散热装置和组合体”,专利申请号为CN202422340741.6,授权日为2025年7月11日。
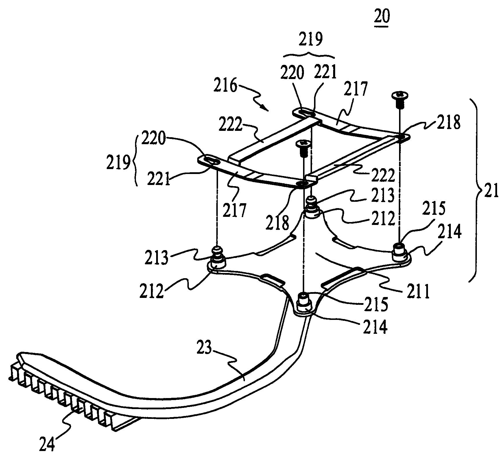
专利摘要:本公开涉及一种用于承载冷凝散热装置的V型框架、V型冷凝散热装置和组合体。V型框架包括相对于中心纵向方向呈V形对称设置的第一侧支臂组和第二侧支臂组。第一侧支臂组和第二侧支臂组分别在顶端部通过上边框件和在底端部通过下边框件固定在一起而形成所包围的内部空间。所述第一侧支臂组包括平行设置的多个第一侧支臂,相邻的第一侧支臂构造成支撑冷凝散热装置的第一侧冷凝器。所述第二侧支臂组包括平行设置的多个第二侧支臂,相邻的第二侧支臂构造成支撑冷凝散热装置的第二侧冷凝器。V型框架承载V型冷凝散热装置,避免核心器件自身承载受力,提高了其在振动环境下的工作可靠性。V形对称布局不仅增强结构强度和抗振能力,还占用空间小。

图片来源于网络,如有侵权,请联系删除
今年以来格力电器新获得专利授权3504个,较去年同期减少了4.94%。结合公司2024年年报财务数据,2024年公司在研发方面投入了69.04亿元,同比增2.1%。

图片来源于网络,如有侵权,请联系删除
通过天眼查大数据分析,珠海格力电器股份有限公司共对外投资了101家企业,参与招投标项目27699次;财产线索方面有商标信息8135条,专利信息114715条,著作权信息297条;此外企业还拥有行政许可827个。
数据来源:天眼查APP
以上内容为证券之星据公开信息整理,由AI算法生成(网信算备310104345710301240019号),不构成投资建议。
