巨一科技获得实用新型专利授权:“一种焊装线夹具柔性快换机构”
作者:小微
发表于:2025年08月08日
浏览量:55222

图片来源于网络,如有侵权,请联系删除
证券之星消息,根据天眼查APP数据显示巨一科技(688162)新获得一项实用新型专利授权,专利名为“一种焊装线夹具柔性快换机构”,专利申请号为CN202421872820.5,授权日为2025年8月8日。
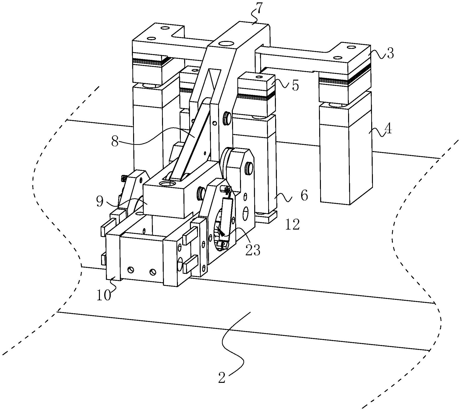
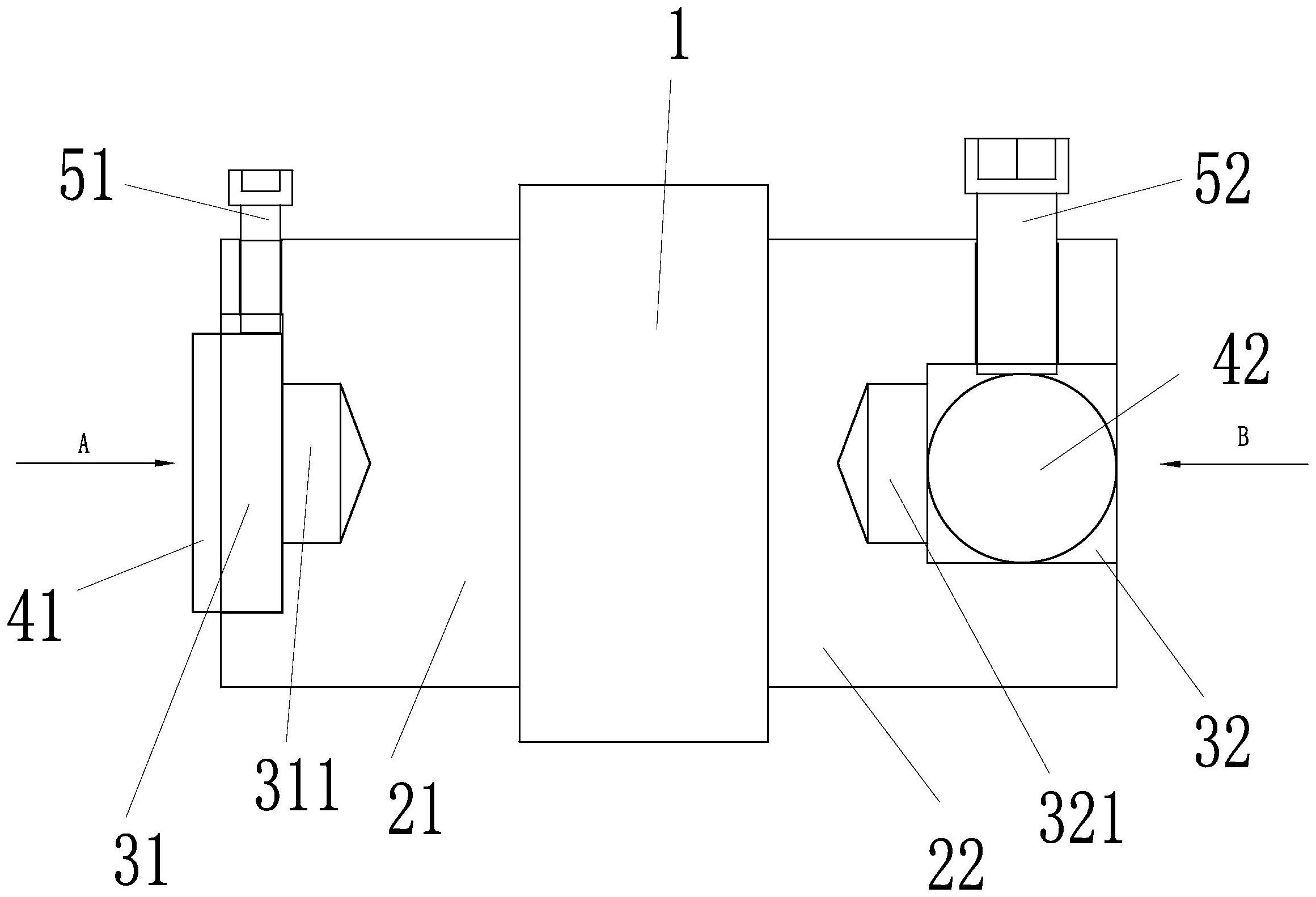
专利摘要:本实用新型涉及焊装线夹具术领域,具体涉及一种焊装线夹具柔性快换机构,具有焊接框架,焊接框架的左右两侧的纵梁上分别安装有若干支撑和导向机构,用于对放置在切换小车上的焊装夹具进行支撑和导向;焊接框架上还安装有夹具定位孔,用于对焊装夹具进行定位;焊接框架前端设有小车限位机构,用于与焊装线转台上的限位机构配合;焊接框架上端固定设有夹钳机构一和夹钳机构二;夹钳机构一用于切换小车与焊装夹具进行固定;夹钳机构二用于对切换小车与焊装线转台进行固定。通过设置多个导向机构、限位机构和夹钳机构,把转台上夹具通过人工推动的方式转移到夹具柔性快换机构上,由快换机构把夹具转移到特定的夹具库中,从而实现夹具的快速切换。

图片来源于网络,如有侵权,请联系删除
今年以来巨一科技新获得专利授权55个,较去年同期减少了33.73%。结合公司2024年年报财务数据,2024年公司在研发方面投入了2.2亿元,同比减28.9%。

图片来源于网络,如有侵权,请联系删除
通过天眼查大数据分析,安徽巨一科技股份有限公司共对外投资了10家企业,参与招投标项目568次;财产线索方面有商标信息151条,专利信息1101条,著作权信息74条;此外企业还拥有行政许可12个。
数据来源:天眼查APP
以上内容为证券之星据公开信息整理,由AI算法生成(网信算备310104345710301240019号),不构成投资建议。
